易玩(上海)网络科技有限公司
公司地址:上海市静安区灵石路 718 号 B1 北楼
注册地址:上海市闵行区紫星路 588 号 2 幢 2122 室
投诉举报邮箱:kefu@taptap.com
米哈游UE5旗舰作定名《雨雾之都》!蔡浩宇带队400人研发
米哈游战略级UE 旗舰新游Varsapura正式公布官方中文名 ——《雨雾之都》,目前该名称已进入全球商标注册实质审查阶段,海外“Varsapura”商标布局已完成,国内注册稳步推进。这款都市开放世界新作由蔡浩宇亲自带队,集结上海、新加坡、洛杉矶、蒙特利尔四地近400人团队联合研发。作为前“PJSH”项目重构后的旗舰作品,其研发投入已超《原神》同期,团队跨地域分工攻克UE5渲染优化、动态叙事等关
Var sa pu ra,雨 雾 之 都
个人大胆解读一下,之前直译为雨之城,中文官方名却多了一个雾出来,说明雨和雾对于这游戏来说应该是很重要的元素,要不然就像之前直接叫雨之城不就行了,这个雾的意向应该会很重要。大雾代表迷失与盲目,有很强的心理学意味,估计会有相关的异象源于此,也许游戏里出现的心理工作者是要高度警惕的,当初第一次玩p5的时候也是初见万喜拓人的时候我对他就很警觉,虽然后面随着好感提高放下警惕心了。集体潜意识客观存在,思想
米哈游UE5旗舰作定名《雨雾之都》
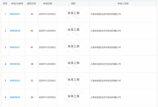
这两天,有网友发现,米哈游子公司近日密集申请了20多个“雨雾之都”相关商标。玩家们普遍认为,这正是该款基于虚幻引擎5(UE5)开发的重量级IP《Varsapura》的正式中文名称。 此前,对于这款备受关注的作品,外界曾猜测其中文名可能采用更为直译的“雨之城”。此次“雨雾之都”的命名,在保留核心意象的同时,显得更具文学意境与品牌辨识度。结合此前已在网络流出的虚幻引擎5实机演示画面来看,米哈游对
投票集体潜意识+动态NPC!《雨雾之都》接棒《原神》开辟3A新赛道
荣格心理学照进游戏近日,米哈游旗下备受关注的UE5旗舰新作传来关键消息,其此前曝光的代号“UC”项目、梵语名“Varsapura”对应的正式中文名已确定为《雨雾之都》。这一消息源于米哈游子公司近期密集提交的二十余项“雨雾之都”相关商标注册申请,目前商标已进入实质审查阶段。此前,该作曾于2025年11月21日发布31分钟实机演示,将“集体潜意识”核心玩法、阴雨氤氲的都市世界观全盘呈现,加之由蔡
米哈游雨雾之都中文确认!战斗玩出新花样!
米哈游旗下子公司集中提交的20余项“雨雾之都”商标注册申请引发行业热议,这批覆盖多领域的商标已进入实质审查阶段,正式确认其UE5旗舰新IP《Varsapura》的中文名称,此前流传的“雨之城”直译方案被弃用,“雨雾之都”更添文学意境,精准契合游戏写实都市与超现实交织的基调!原名“Varsapura”源自梵语,意为“雨之城”,新名称既保留核心意象,又通过“雾”的增添,精准勾勒出潮湿迷离、充满生命力
【快讯】Varsapura官方中文名定名雨雾之都
近期,米哈游子公司密集申请20余项雨雾之都相关商标,多方推测这是其虚幻引擎5开发的开放世界新作Varsapura的官方中文名,相关商标目前处于实质审查阶段。Varsapura源自梵语,本意为雨之城,雨雾之都在保留核心意象的同时,更贴合游戏中大量雾景元素与朦胧的世界观氛围。该作集结全球多地研发力量,以叙事驱动为核心,融合AI动态事件系统、载具探索等玩法,场景以新加坡、上海等城市为蓝本构建超现实都市环
米哈游雨雾之都实机破500万 玩法何时上线?
米哈游旗下由蔡浩宇主导的虚幻引擎5开放世界项目《Varsapura》中文名正式揭晓为《雨雾之都》。根据新加坡商标申请信息显示,该名称既呼应原名梵语"雨之城"的意境,又强化了游戏潮湿阴郁的视觉基调。此前31分钟实机演示视频在B站播放量突破500万,登顶全站排行榜,展现其作为米哈游继《原神》后"次世代旗舰"的市场号召力。这款3A级作品的研发方向引发行业关注。招聘信息显示团队重点招募电影化叙事、写实渲
空空如也
也许宝藏只是换了个藏身之处