去玩了异环,个人感觉还是终末地好
(非引战)原因如下,我是16+512的手机,画质性能能开的差不多都1。异环战斗老是感觉连携衔接好不顺畅,打击感反馈流畅度都不如终末地。2。然后画质以及角色的建模感觉终末地有血有肉立体,异环就有点塑料的感觉。3。然后终末地虽然不能攀爬,但是异环爬起来好别扭的感觉,也不流畅4。抽卡我感觉说实话,异环虽然不歪,运气好的人在晒,拿常驻池举例子,我感觉大多数人常驻池都是到70-80才出,限定如果每次
多人成行?解析鹰角买断制新作《泡姆泡姆》
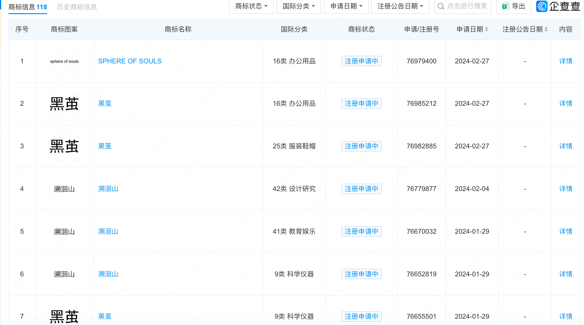
今天凌晨,鹰角发布了一款新作的PV,与此前的作品大相径庭,《泡姆泡姆》是一款仅限多人合作(暂无单人模式),仅登陆主机PC(暂无手机版)的买断制3D平台解谜游戏。其实此前就有玩家通过商标注册扒出了泡姆泡姆这个项目的存在,当时关于这个项目到底会是什么游戏也有诸多猜测,但估计很难有人猜中最后这个答案。尤其是游戏昨天(9月8日)发布的“像素打飞机小游戏”预热海报,估计把不少玩家拐到坑里去了,以为会是飞
鹰角的「朋友圈」
(图片标题是玩笑,不含贬义)新生代公司里,投资最频繁、与大厂交集最多的应该就是鹰角了。除了早期与悠星合伙设立的原子朋克(GP是game trigger),鹰角还与网易等合伙设立游扳创业孵化器(GP同上);认购诺惟资本旗下的诺惟合悦基金、优格资本旗下的优格华欣基金,以及碧山资本旗下的碧山仲海基金。鹰角直接或间接投资的公司多是创意或独立向游戏开发团队,但也不乏深蓝互动、心光流美等成熟的商业游戏
鹰角网络 | 100家游戏公司盘点(9/100)
大家好我是游戏职场人JasonSu,收到邀请来taptap分享游戏综合知识、游戏营销和策划职场进阶知识,帮助希望帮助想要从事游戏行业的小伙伴一起了解游戏~举手公司概括:2017年成立的游戏公司,虽然年轻,但是靠着《明日方舟》一款游戏就首发冲到了6亿+的月流水,成为上海4大明星游戏公司之一;创始成员来自谷歌、无极黑、CYgames等游戏公司,注重于开发IP游戏以及衍生品,投资了十几
鹰角《明日方舟:终末地》首次开放试玩❗❗❗
7/22号下午,鹰角网络官博发文公开了其参展“2024ChinaJoy”的情报❗❗❗官方表示,将携带《明日方舟》《明日方舟:终末地》《泡姆泡姆》3款作品展出值得一提的是,这是《明日方舟:终末地》首次在线下展会开放试玩环节即是首次,那就值得期待一波了不知道大家怎么看?#
华为官宣与鹰角网络合作
之前还以为是别人P的图是假新闻,没想到真的官宣了之前是库洛,现在是鹰角。各种公司都开始与华为鸿蒙合作,看来未来鸿蒙生态越来越壮大是必然趋势,用户用上原生鸿蒙也应该不会太远了#今天游戏圈发生了啥 #鹰角 #明日方舟 #来自星尘
来自星尘 68?
以上价格来自 App Store 截图(主观)这是不是有点贵,看了下tap热卖,大部分是18啊当然换个角度来想,就是粥的两次月卡,隔壁游戏的一次大月卡💰发个投票,如果真是这个价,大家觉得这价格咋样?#游戏讨论#游戏资讯#吃瓜爆料#来自星尘#鹰角
传鹰角旗下来自星尘项目组或解散?
目前网络上有关于鹰角网络旗下的游戏《来自星尘》项目组解散的消息,据称,这款游戏的研发团队已经解散,团队成员面临获得N+1赔偿或是在公司内部转岗的选项。但这一消息的真实性尚未得到官方的明确证实。有关该项目组的具体状况,以下是一些详细的情况说明:《来自星尘》,一款3D半即时制回合RPG手游,由鹰角网络旗下的觉醒波工作室负责开发,并采取了买断式商业模式。作为鹰角首次推出的买断游戏,自2月27日上线以来
啊好气啊,整的我都想退游了
鹰角你到底在搞什么东西?#来自星尘#GB话题(。・`・)#鹰角
68元到底值不值❓肝了一天后的锐评
来自星尘发售后肝了一天啦,过了第一个大剧情,来到贸易小镇,停下来歇一歇说说游玩体验。🎮游戏玩法:回合制+弹反的机制,这种机制打BOSS时体验感很好,紧张感和策略性都照顾到了。BOSS初见难免挨上几刀,到后面慢慢熟悉,每次都弹反成功就很有成就感。后期如果技能搭配得当,可玩性很强。但在前期打小怪,加上没解锁多少技能伤害刮痧的情况下就是灾难体验,重复小怪的重复招式,一场战斗下来大道都磨灭了。
空空如也
也许宝藏只是换了个藏身之处