明日方舟:最速详评!六星速狙灰烬,干员使用指南和数据分析
宝藏2021/03/142.1 万浏览攻略
六星对空狙击干员,灰烬。今天我们抛开厨力不看,根据各种数据以及实战的表现,来详细测评一下她的强度。一共分成六个版块:面板数据、天赋与特性、技能单独解析(3)、基建与综合评价,让我们开始吧!
灰烬:六星对空狙击

面板数据:六星狙击干员,灰烬。她的特性是“优先攻击空中单位”,属于人口众多的子职业:“高速对空狙击”,光是六星就已经有三位了。在面板数据的对比上,我们选择了其他的同类型的速狙干员作为参照,包括以下五位:空弦、能天使、灰喉、白金、蓝毒(不考虑天赋,均按精二满级无潜能计算)。

灰烬的面板数据,几乎与空弦、能天使一致,三者之间的数据几乎不存在什么差距。单就攻击力这一对于高速狙最重要的属性而言,是能天使最高、灰烬次之,空弦最末。如果相较于五星干员,她们的各项面板数据都有着全面的领先。总体而言,这是一份最标准的六星速狙面板。
天赋:突击手的辅助装备
“辅助装备:部署后立即对攻击范围内一个敌人投掷闪光弹,使其和周围敌人晕眩4秒。”
当我们部署灰烬时,她会立刻对攻击范围内最靠近蓝门的敌人投掷出闪光弹,将其和其周围一定范围内的全部敌人眩晕。但如果在部署灰烬时,眼前是空白一片、没有敌人存在,那这一天赋也就随之浪费了。因此这是最关键的一点:要注意灰烬的部署时机,尽量在覆盖范围有敌人时,去下灰烬。
在一些特殊的时刻,无论是我们漏了个别敌人,还是出现了难缠的泥岩巨像、粉碎攻坚手、倾轧者等等棘手的敌人,都可以通过紧急部署灰烬去“控一手”。长达四秒的范围眩晕,持续时间还要略高于红的“狼群”(2~3秒),你值得拥有。

同时,灰烬的这枚闪光弹是范围型的,会对目标周围半径为1范围内的所有敌人都造成眩晕。在许多时刻,通过观察敌人的行进位置,往往能够实现一炮双响、甚至三响。

灰烬的闪光弹也并非仅此一发,是可以随着她的重新部署、或是开启第二技能来刷新使用的。因此在大多数情况下该用就用,不用吝啬,只要对于缓解前中期压力有所帮助就好。
“突击手:首次部署时部署费用-3,部署后立即获得17/20技力。”

灰烬的第二天赋“突击手”,能大大加快灰烬的初次部署速度和技能启动的时间。在常规无潜无专精的练度下,灰烬的初次部署费用仅为11点,达到了满潜五星速狙的平均水平。顶配的灰烬更为恐怖,部署仅需9费,相当于一个快速复活系的特种干员。
同时,她的技能启动速度也得到了大幅加快。常规灰烬点火三个技能分别需要32秒、12秒、8秒,可以在部署后迅速得以启动。顶配的灰烬(五潜专三)更是已经接近落地点火,点火技能分别只需25秒、5秒、5秒,启动速度惊人。因此我们概括而言:灰烬是一个非常适合在前期部署的干员,她的第二天赋大大地降低了我们的费用和时间压力。

但是与之相对的,就是第二天赋并不能反复获取技力,比如使用“撤退再部署”这一作战方式。就像上图中所演示的一样,如果选择重新部署灰烬,那么第二天赋将彻底失效:费用不会降低、也不会获取初始技力。这与艾雅法拉那可以反复获取技力的第二天赋“乱火”差异很大,需要我们注意。
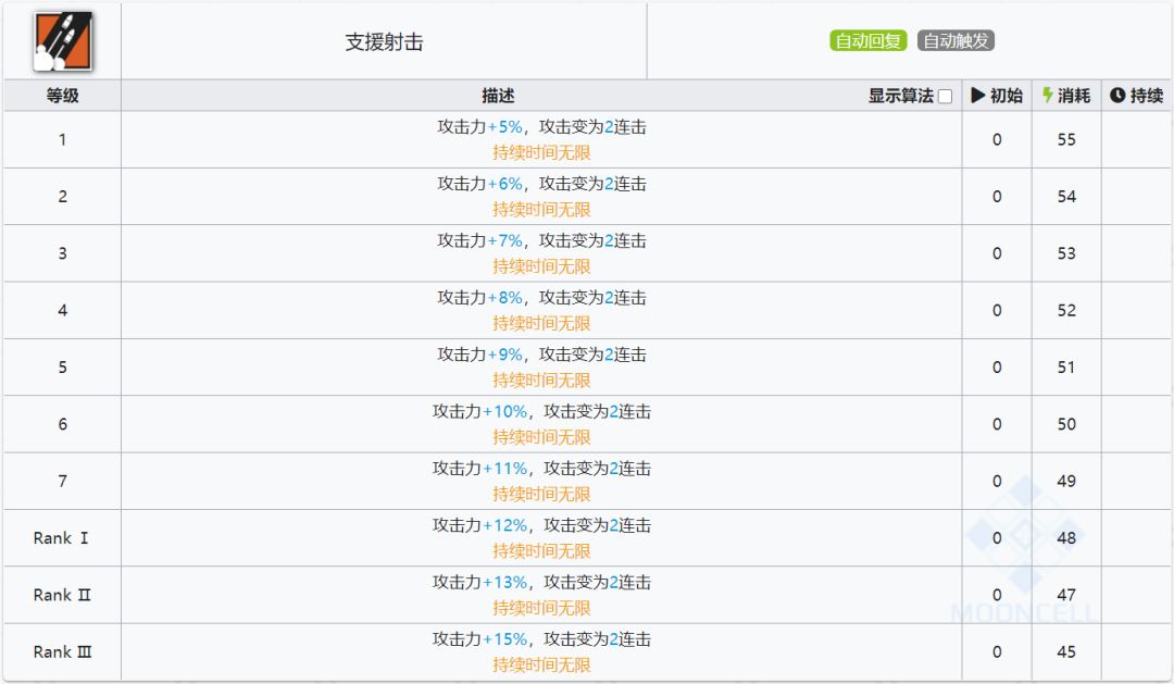
支援射击:永续连击

“支援射击:攻击力+11%/12%/13%/15%,攻击变为2连击;持续时间无限。”
一、技能机制:灰烬的一技能“支援射击”,属于需要点火进行启动、持续时间无限的永续类技能。在成功启动后,灰烬会小幅提升自身的攻击力,同时让所有普攻变成二连击。这个机制其实有点眼熟,既像是牺牲了部分增幅、让技能得以永续的“箭矢·暴风”,又像是对空速狙版的“最终旅程”。实战演示如下图所示:

二、伤害输出:我们先来测算一下灰烬一技能“支援射击”的输出能力。一技能的定位符合她的速狙设定,核心用途就在于清理中低护甲的地面敌人和各种款式的无人机。同时为了能和之前的能天使测评、空弦测评形成更鲜明的对比,所以我们在敌人设置上不做改变,依旧是被削弱了法抗后的:法术大师A2(防御力140,法术抗性30,数量为1)。

这里主要选择了其他高星狙击干员的无限持续技能、长周转时间的作为参照,进行单体输出的伤害测算,包括:能天使的“扫射模式”和“过载模式”、空弦的“箭矢·暴风”、灰喉的“回流”、以及白金的“天马视域”(均按7级计算),结果如下:

如果对比同样是持续时间无限的“天马视域”,支援射击显示出了一些在技能上的考量:它没有天马视域那样舒服的输出环境、抛光线也更低,但是整体的DPS要明显更高。
但是如果相较于其他狙击干员的技能,灰烬一技能“支援射击”的输出明显不强力。全周期1000+的秒伤数据,只能堪堪齐平五星速狙灰喉,与自损一臂、对单输出的空弦一致,并不亮眼。因此对于输出端的结论是:“支援射击”是个很省心的技能,但输出确实不太过关。
三、实战应用:在实战中,灰烬一技能“支援射击”的主要用途就是解放双手。落地暖机32秒后即可启动,适合清理无人机和游戏前期的轻甲单位。但是敌人的防御力一旦到了400以上,灰烬的输出就会呈现出明显的疲软之势。

这个技能与第二天赋“突击手”之间存在着很不错的相性,部署费用的降低和初动的增加,能够让这一永续技能实现最快启动。因此一技能的用法概括而言就是:需要在游戏的前期部署,紧接在先锋之后,在中后期的用处就不大了。
四、专精收益:灰烬“支援射击”专精带来的改变,主要体现在攻击力的增加和点火所需技力的降低上。从七级到专三的平均DPS提升分别是:1.1%、2.3%、4.6%,提升非常之低。建议练度:七级。
五、综合来看:灰烬的一技能“支援射击”是一个很省心的技能,一方面是通过提高攻击力来增加了速狙干员最需要的抛光线,另一方面,二连击的机制也让灰烬的整体输出平均化,既不会造成过多的伤害溢出,也不会常常限于需要补伤害的尴尬境地。但这个技能的输出终究有些不够看,够省心但不够强,不建议携带。
突击战术:控制后的输出

“突击战术:立即触发第一天赋,攻击间隔大幅度缩短,且攻击被晕眩目标时攻击力提高至210%/220%/230%/250%。攻击装有31发子弹,打完后技能结束(期间可随时停止技能)。”
一、技能机制:灰烬的二技能“突击战术”同时具备着控制和输出的双重能力。在开启二技能后,灰烬会再次触发自身的第一天赋“辅助装备”,扔出一枚闪光弹眩晕敌人,同时她会在整个技能期获得对眩晕敌人的增伤。
在技能期间,灰烬的攻击间隔将被获得大幅度缩短。
用直观的时间数据来看,实际的攻击间隔将缩减到0.2秒,打光一梭子里的所有子弹仅需6.2秒。她靠着投掷闪光弹就能对敌人形成长达4秒的眩晕控制,足以打出60%以上的输出了。同时,这一点与其他干员存在着较大的差异性,如果在子弹射光前就对敌人完成了击杀,灰烬依旧会保持技能开启的状态,持续到子弹彻底打空。实战演示如下所示:

就和我们在第一天赋解析时说到过的一样,如果灰烬在开启技能时,攻击范围不存在可以选择的目标,那么她依旧可以成功开启技能,但无法触发第一天赋“辅助装备”的闪光弹了。这个细节也并不是毫无意义:在面对一些对眩晕有抗性的Boss级敌人时,提前开启技能让灰烬处于步枪扫射状态,能够加快技能的第二次周转。
二、输出能力:我们将灰烬二技能“突击战术”直接加入一技能的对比表格中,输出结果如下图所示:

足以媲美过载模式的技能出现了。灰烬的二技能“突击战术”所形成的爆发力极为恐怖,突破了3700点大关,不仅远远高于其他狙击,甚至超越了能天使过载模式的3519。虽然二技能的全周期平均伤害并不突出,但是爆发力却足够强。
那既然说到了爆发力,就要仔细测算一下这份秒人能力了。我们这里再来测试另一种情况:顶配状态下的华山论剑。如果为两人都搭配上足够多的辅助技能,包括华法琳的不稳定血浆、阿的爆发剂·榴莲味、黑的天赋“交叉火力”、极境的天赋“狙击支援”,输出结果会如何变化呢?(综合辅助收益:攻击力+150%,攻击速度+73)

灰烬二技能的吃拐率并不如过载模式,相差了50%。在四重辅助的加持下,能天使的过载模式输出产生了质的飞跃,技能期的秒伤也反超了突击战术。这不代表灰烬吃“吃拐”的效率不高,更严谨的描述是:灰烬吃攻击力拐的增益并不低,但吃攻速增益的收益非常低。理由也很简单:她仅有31发子弹,打完了就没了。
从以上两张图表中,我们能获得关于“突击战术”的伤害测算结果:在没有其他干员辅助的情况下,突击战术是当前最优秀的狙击单体输出技能。但如果有大量其他干员提供BUFF辅助,要论极限“蒸发”能力,依旧要看能天使。
三、实战应用:常规情况下依靠自身闪光弹眩晕敌人输出的灰烬,实际的“眩晕增伤”覆盖率仅有64.52%。因此我们可以换个思路:为灰烬搭配具有眩晕能力的干员,让她在技能期间享受到全增伤,这带来的提升要比常规的拐更大。下面这些干员与她都有着非常不错的相性:

可以造成眩晕效果的技能并不罕见,包括森蚺的“震慑劈砍”、迷迭香的“末梢阻断”、卡达的“同步索敌攻击”、梅的“束缚电击”、莫斯提马的“荒时之锁”等等,但是要说与灰烬最为契合的,还是看下面的这几个:蜜蜡的“守卫尖碑”、霜华的“陷阱部署”、德克萨斯的“剑雨”、红的“狼群”、W的“红桃K”、以及闪击的“闪光护盾”。
具体的用法也很简单:让灰烬先开启技能眩晕敌人,然后等她的眩晕效果快要结束时,再开启其他干员的技能为敌人续上眩晕时间。比如在下面的合约轮换图“6区废墟”中的这段配合:

他们那可控的眩晕技能,能够充分配合灰烬,补足她所欠缺的两秒控制。其中又以蜜蜡、红、霜华、闪击四人更为杰出,蜜蜡和闪击兼顾了阻挡敌人,且闪击还能从灰烬的眩晕中充分享受自身天赋“持盾射击”带来的增伤。霜华的陷阱,与红一样可以随心所欲地空降。
四、专精收益:“突击战术”在专精中能够进一步提升眩晕伤害的倍率、加快技能周转,但对于其他方面没有改变。从七级到专三的综合输出提升是:5.9%、12.1%、25.8%,整体收益很高。如果要为常规作战选一个技能专精,可以优先专三二技能。建议练度:七级、专三(推荐)。
五、综合来看:灰烬的二技能“突击战术”是一个极其优秀的输出技能,不需要太多的辅助,光凭自身就能打出强力控制与输出,爆发能力甚至还要超越了“过载模式”。虽然在极限输出方面并非最佳,但也足以应对大多数的作战情况了,尤其是再搭配其他具有眩晕能力的干员之后,威力更是倍增。建议优先专三。
攻坚榴弹:一拳超人

“攻坚榴弹:向前发射破墙弹,对沿途敌人造成260%/270%/280%/300%的物理伤害并向后较大力度推动;爆炸对周围造成360%/370%/380%/400%的物理伤害(从低地撞到高台直接爆炸,且造成720%/740%/760%/800%的物理伤害);每次部署只能释放2次。”
一、技能机制:灰烬的三技能“攻坚榴弹”拥有着极高的技能倍率,造成双重伤害。如果能够打满伤害,七级的技能伤害倍率就足有980%,专三时更是达到了恐怖的1100%。这里比较特殊的机制是一点:从低地撞到高台,会直接爆炸且造成更高的伤害。

这是《彩虹六号·围攻》中干员Ash的招牌技能,她所射出的是爆破弹,能够在穿透目标的表面后自动引爆,非常具有战略意义。在《明日方舟》中,灰烬并不能破坏墙体,但却能通过榴弹将敌人推动,并在接触到墙体时造成更高的伤害。如下图所示:

灰烬所发射的这枚爆破榴弹的推动半径是1.2格,因此有时可以蹭到两侧的其他敌人。如果没能触碰到墙体,那么爆破弹会在距离自身四格的中心处爆炸;如果成功从地面地形飞向高台或者是地图边界时,将会在两格的交界处中点发生爆炸,爆炸半径是1.5格。

二、输出能力:考虑到三技能将会对沿途敌人产生推动,并最终造成爆炸伤害,所以我们对比的技能会发生很大的改变。这里主要选择的是不存在持续时间的爆发伤害技能,以及拥有攻坚能力的技能,包括:W的“D12”、黑的“战术的终结”、守林人的“战术电台”、陨星的“高爆弹头”,最终结果如下所示:

灰烬三技能“攻坚榴弹”的爆发力领跑全场,甚至还超越了守林人的“两连核平”。在技能覆盖三目标的情况下,灰烬凭借着17500点的超恐怖秒伤,力压W与守林人,成为了当前游戏版本中物理爆发最强的技能。但是这份强大也是有代价的:灰烬在每次部署后,只能释放两次技能。
三、实战应用:正如技能名“攻坚榴弹”所示,这个技能的定位就是两个字:攻坚。超高倍率的爆发伤害,以及与之伴随的“较大力度”位移控制,都是面对棘手敌人时的绝佳属性。三技能有输出、有位移、有控制,实在是太合适危机合约了。

但是整体而言:携带三技能“攻坚榴弹”的灰烬,完全成为了一个对策解。除了攻坚榴弹之外,她因为速狙的低面板,本身几乎就不具备其他的功能性了,甚至清理无人机这份本职工作也变得很困难。因此可以考虑使用“撤退再部署”的方式,尽可能多地让她打出几发闪光弹,以及刷新榴弹的使用次数。

四、专精收益:“攻坚榴弹”在专精中并不降低技能开启所需的技力,但同时提升了两重伤害的倍率。从七级到专三的DPS提升分别是:3.2%、6.4%、12.8%。考虑到技能自身的高可塑性和潜力,建议练度:七级(推荐)、专一至专三任一阶段。
五、综合来看:灰烬的三技能“攻坚榴弹”是一个对策向的特殊技能,她有着超高伤害爆发和位移控制的同时,也损失了许多属于速狙干员自身的东西。这并不是一个使用起来很简单的技能,但是如果学会了使用,能成为应对许多棘手敌人时的优质解法。很期待在未来的合约中,灰烬的三技能能够有所发挥。
基建与综合评价
一、基建技能:灰烬的两个基建技能都是在控制中枢生效的,综合效果是:“进驻控制中枢时,控制中枢内每个彩虹小队干员可使控制中枢内所有干员的心情每小时消耗-0.05。控制中枢内每有1名彩虹小队干员,则情报储备+1。”

详细的解析之前所长专门写了一篇文章去解析,目前的结论是:“彩虹小队”的核心价值是辅助夕与迷迭香的“感知信息”体系。仅建议两种博士使用彩虹小队入驻基建,一种是熟用迷迭香体系的,建议方式是:在启用迷迭香入驻制造站时,可以让彩虹小队三人入驻控制中枢,搭配阿米娅和夕;一种是懒癌晚期不想换班的。对于其余博士来说,照常基建就行。
二、潜能提升:灰烬潜能提升的核心是四潜。理由就和先前的空弦测评一样,27点攻击力增幅对于速狙来说是极其关键的,能够带来最直观的DPS提升:4.3%;五潜时会提升第二天赋,增加了三点初次部署时的技力。对于一些极限情况下有一定的战略意义,但平时作战的意义非常有限;因为三技能的存在,撤退再部署的操作需要我们纳入考量,部署费用和再部署时间的降低也有其意义。综合潜能建议:四潜、满潜。
三、培养建议:干员艾丽萨·科恩,代号灰烬,彩虹小队成员。对于萌新博士而言,灰烬的一技能有利于前期开荒和处理无人机,二技能也能够在早期攻坚。有控制、有输出的狙击干员,是最吃香的,推荐度:★★★★★;
对于常规队伍已经成型、尤其是同样拥有闪击、霜华等干员的博士而言,彩虹小队几人之间的相性绝佳,适合搭配作战。灰烬凭借着“攻坚榴弹”天生的高输出和“突击战术”的控制能力,打造出了一些独属于自己的差异性,不需要太多辅助就能伤害爆炸。但是在功能端她没有什么创新和突破,故而减去一颗星。推荐度:★★★★;
对于已有高练度能天使、空弦等干员的博士而言,灰烬需要与这些高星狙击竞争上岗。她的理论输出上限并不及能天使,也不像空弦那样专精于多目标输出,能够拿得出手的也就是三技能的超高倍率爆发。整体的潜力和用法还有待开发。推荐度:★★★。



