三八-女神节 活动圆满结束
精华修改于2019/03/12239 浏览综合
三八女神节--女神的故事接龙-编剧王评选投票最终结果:

图所示为此次活动最终投票结果。请获奖者(排名1-10)尽快联系Tap版主荣耀(QQ:1505749060)登记获奖信息,提供: Tap ID的截图 要选取的先天 奖品可选阴镜阳镜与灵器阁里的先天装备,登记完毕后,稍晚些奖品会私聊发放。 务必在周三下午16:00之前登记完毕。
另外七星奖还有一人未登记领奖,楼层917,tap昵称:手机用户40306734,tapid:40306734请抓紧时间领奖。
本次投票排名信息查看: https://www.wjx.cn/report/35646835.aspx 本次投票问卷详细结果查看: https://www.wjx.cn/wjx/activitystat/viewstatsummary.aspx?activity=35646835 密码都是:xingshen123 说明:关于详细结果PC查看效果更好,可以看到所有有效以及无效问卷。
下滑为刷票说明 ↓↓↓
关于非常规刷票票数的取消说明
本次有效答卷2066份,无效答卷758份。无效答卷中,一共是分两批处理,一批是666份是由于填写时间小于20秒,另一批92份为特殊手段刷票而来,下面进行详细的解释。
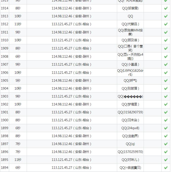
一、填写时间小于20秒。 3月10号凌晨,连续出现了大量的十秒左右的问卷,并且投票含有规律性。大概是500票左右。基本可以断定是非正常刷票。发现后,我们采取了一条筛选规则,即填写时间小于秒的投票,视为无效。 除了那500票被算作无效意外,还有另外一百多票也被算作无效,我们认为,在选项随机的情况下,低于20秒填写完毕的投票,都是不负责任的投票。 图所示:

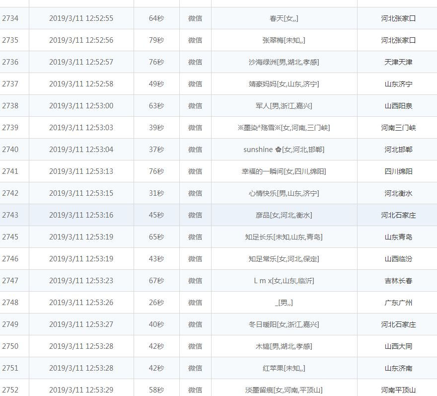
二、微信刷票 3月11号中午1点左右,十分钟左右的时间,出现了100票左右连续的微信投票,并且全部未参与抽奖,票也很有规律性(全都投了某一编号,然后其它随机)。 这一波刷票,一共筛选出了92票。 图所示:

关于无效答卷,存在疑惑或者异议的,可以在群里找Tap版主荣耀(qq:1505749060)进行反馈说明。
此次活动圆满结束了,期待下次的活动吧!


