辅助干员练什么好(削弱者)
宝藏修改于2022/01/181544 浏览攻略
大家好,我是BillAser,这个帖子作为明日方舟辅助干员功能解析的补充贴。用于对比削弱者的技能,方便各位博士有针对性的去培养干员。
如果没有耐心看完,可以直接拖到最下面看干员推荐
想要了解削弱者,我们首先要明白方舟伤害计算机制。
物理:
攻击200,物理防御30 造成的伤害是170点(200-30),但是如果防御力超过攻击力,攻击者还是能1对目标造成极低的伤害,这也是论坛中常说的“刮痧”。
现有boss中物理防御最高的是:
寒灾(1500)

普通敌人:
源石畸变体α(2000)

源石畸变体(2000)

粉碎攻坚组长(2000)

法术:
攻击200,法术抗性30 造成的伤害是140点(200*(1-0.3))
由此可见,只要敌人的法术抗性不是100点,法伤干员都可以对其造成一定伤害。
现有的boss中,法术抗性最高的分别是:
寒灾(80)

爱国者(80)

普通敌人中,法术抗性最高的:
源石畸变体α(80)

源石畸变体(80)

提亚卡乌大巫(80)

磐蟹(85)


削弱者只有三个人,他们的被动均可以对敌人施加“脆弱”效果,以此增加敌人受到的伤害。
先来对比三人的脆弱效果:
灵知:

初雪:

巫恋:

灵知普通攻击自带特效,只有有特效的敌人才能附带脆弱效果。
初雪以及巫恋只有在敌人生命值低与40%才能给敌人添加脆弱效果。
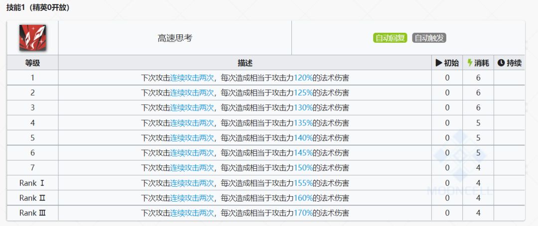
接下来看看三个人的技能:



如图所示,灵知的技能皆是围绕着”寒冷“以及”冻结“这个两特性展开。一技能:直接冻结一个敌人。
二技能:给范围内所有敌人添加减攻速以及脆弱debuff。蓄力:冻结范围内的敌人,添加一个强力的脆弱debuff。
三技能:加攻速以及多攻击一个一个敌人。被冻住的敌人要等到皆能结束才解冻,优先打没冻住的敌人。技能结束,所有冻住的敌人还要被炸一次。

初雪的一技能开启后,可以大幅降低敌人攻速,只要7级就能降低敌人一半dps。这个技能可以提升队友的生存性。
初雪的二技能就是一个正儿八经的减益技能,可以降低攻击范围内敌人的双抗。

巫恋的一技能可以提升自己的攻击力,同时增强被动效果,如果需要长时间站场输出,带这个技能也不错。


巫恋的一技能不错,但是二技能更香。诅咒娃娃可以部署在战场的的任意远程/近战位置,且不会占用部署人口。这就让巫恋变成了一个可以全场支援的干员。
再来看看技能效果,降低敌人攻击力以及物理防御,这就让她成了一个万金油,既可以配合决战技(如真银斩)打出巨额伤害,也可以放置在高伤害敌人周围,降低地面干员的抗线压力。
减益类干员推荐:
未精一:
谁都不练,这个阶段把资源投入给其他输出干员。
有一定数量精一干员 无精二干员:
谁都不练,这个阶段把资源投入给其他输出干员。
已有主力队(大多精二),推图/活动没有影响。但是不想花费太多资源培养辅助干员:
根据已精二的干员伤害类型,分别选择初雪或者巫恋。
其他:
这个阶段你其实已经是大佬了,轮不到BA指手画脚。
真要给BA给建议,那就练铃兰。
初雪虽然能降低法抗,但是要少一个高台位。现有的塞雷亚三技能可以给予很高的法伤加成,塞雷亚甚至还能抗伤。但并不是说初雪不如塞雷亚,BA第一次打过大爹靠的就是精一的初雪和精二银灰。然后是巫恋,二技能灵活性很高,可以练练。
但是:这类干员能锦上添花,想做到雪中送炭很难。在有一定的练度的情况下,此类干员可以考虑培养。新手不用考虑以及刻意抽取(真爱党除外)


