明日方舟:最速详评!六星医疗凯尔希,干员使用指南和数据分析
宝藏2021/05/095.6 万浏览攻略
六星医疗干员,凯尔希。今天我们抛开厨力不看,根据各种数据以及实战的表现,来详细测评一下她的强度。一共分成六个版块:面板数据、天赋与特性、技能单独解析(3)、基建与综合评价,让我们开始吧!
凯尔希:六星单体医疗
面板数据:六星医疗干员,凯尔希。她的特性很常见:“恢复友方单位生命”,属于“单体医疗”这一常规子职业,擅长稳固单体友方目标的血线。但她在设计上却没有那么简单,更像是一位“召唤系医疗”。在面板数据的对比上,我们主要对比同一子职业的其他干员,包括以下七位:闪灵、亚叶、图耶、华法琳、赫默、苏苏洛、嘉维尔(不考虑天赋,均按精二满级无潜能计算)。

凯尔希的综合面板数据要明显低于六星闪灵,她的攻击力甚至要低于四星医疗干员,将天赋点都加在了生存能力上。对于单体医疗干员而言,最关键的属性是攻击力,这直接决定了她们的单次治疗量。凯尔希的攻击仅有490点,不仅差了闪灵120点,甚至低了嘉维尔13点,这就离谱。
那么她作为六星,属性都去哪里了呢?答案在于三方面,第一是增强了生存能力。凯尔希拥有着几乎是高台干员中最高的防御力,齐平了浊心斯卡蒂,足以被称作“高台重装”;第二是她的治疗范围,要比寻常的单体奶更远,覆盖了身前四排的范围,达到了群狙的射程。

第三是她的召唤物Mon3tr,这才是凯尔希的核心竞争力。因此,凯尔希并非我们常规意义上的单体医疗,更像是一个召唤系的特殊医疗干员。所长一直期待着一个苏苏洛的上位,一位能专精单体治疗的六星单体奶,目前尚未能出现。这也算是给未来的干员设计留下了空间吧。
召唤物与天赋
“Mon3tr:可以使用并治疗Mon3tr,拥有25秒再部署时间,优先治疗自身和Mon3tr;Mon3tr不在凯尔希攻击范围内时防御力降至0。”

我们先来聊一聊凯尔希的召唤物:Mon3tr,游戏中最强的面板怪物。它那5400血、1400+攻击力、400+防御力的恐怖面板数据,不仅仅是碾压了其他各式各样的召唤物,也超越了所有干员。

Mon3tr不止是面板高,在其他维度方面也极强。它的阻挡数是重装水准的三人,部署费用却和六星快速复活系干员一致,仅需10费。再部署时间也只有25s,略高于快活系干员。虽然Mon3tr占据了部署上限,但是它面板高、部署便宜、再部署快,各方面的综合实力实在是太可怕了。
同时,我们需要特别注意一点:凯尔希的治疗优先级,她将治疗自身和Mon3tr作为第一顺位需求。比如在一些毒雾地图或是这次活动图SV-9中,凯尔希会疯狂治疗Mon3tr和自己,哪怕只是掉了层血皮。她会完全不顾旁边残血的干员。看看我们家的风笛吧!

“不毁重构:Mon3tr在被击倒后(不包括撤退)使周围8格内所有敌人晕眩3/3.5秒并对其造成1200/1400点真实伤害。”
即便是如此强壮的Mon3tr,也会有被击倒的时候。当它被击倒时,不会像寻常干员或召唤物一样默默退场,而是会对周围八格范围内的所有敌人造成长时间的眩晕和高额的真实伤害。

这一天赋主要是用来搭配三技能“指令:熔毁”进行使用,将“未击杀任何敌人则流失最大生命的50%”的负面效果,化作是可控的正面范围AOE爆发。先不说珍贵的真实伤害,光是3~3.5秒的范围眩晕就弥足可贵了,因为Mon3tr的再部署时间仅有25秒。唯一的缺陷就是:总伤害偏低。
不过也为了避免这种纯用天赋打控制的情况,也追加了一个设定:撤退不算做“击倒”,无法触发天赋。但这也衍生出了一个新的思路:在高难关或高等级合约的加持下,或许我们可以通过让Mon3tr送死去玩出一些新的配合。不过在大多数情况下,还是保障Mon3tr的生存更合适。
指令:结构加固

“指令:结构加固:自身和Mon3tr的防御力+120%/130%/140%/150%,且自身获得40%/50%的物理格挡。”
一、技能机制:凯尔希的一技能名为“指令:结构加固”,会同时增加自身和Mon3tr的防御力,同时赋予自身高额的物理格挡。这个技能会令本身防御面板就达到高星近卫水平的Mon3tr,一跃达到重装的层次,如下图所示:

二、阻挡能力:在凯尔希的指挥下,结构加固的Mon3tr已经足以拿来和重装干员们相提并论了。这里我们对比的技能包括:年的“铜印”、星熊的“战意”和“荆棘”、可颂的“自动防御”、火神的“坚守模式”。同时,考虑到Mon3tr是由凯尔希照料着的,在天赋的作用下它会受到持续的治疗。因此这里也将这份治疗能力纳入考量范围,对比一下几位奶盾干员,包括:塞雷娅和临光的“急救”、吽的“反制医疗模式”,最终结果如下:

可以发现:凯尔希的Mon3tr极其全面,它的综合能力相当于一位被塞雷娅“急救”照顾着的重装干员。在技能期,Mon3tr的防御力高达891点,仅比荆棘星熊低了100点,生命上限高出了足足41%。同时,它在凯尔希治疗关照下还拥有着生命回复能力,平均治疗量还要略胜于两位奶盾的急救。
但是这个技能在设计上也有一些令人迷惑的地方:那40%的物理格挡是给凯尔希的,不是给Mon3tr。这份所有干员中几率最高的格挡属性,居然给了一位高台干员,增加了凯尔希的生存能力。如果能转移给Mon3tr,那就完美了。

携带一技能“指令:结构加固”的凯尔希,让Mon3tr成为了一个合格的阻挡单位。不过需要注意:在非技能期的Mon3tr还是比较脆的,仅有挡二近卫水平的405点防御力,与陈Sir一致。如果拿去对比凯尔希自己的三技能,Mon3tr的属性也是全面处于下风。整体而言:携带一技能的凯尔希,适合应对物理输出类型的敌人,但这并不是一个强度很高的技能。
三、实战应用:沿用上文中的测试结果,在实战中:我们要用Mon3tr去处理高物理爆发的敌人,开启技能的时机很重要。理由也很简单,它在技能期确实很强壮,但是在非技能期只拥有一名近卫的身板。比如在此次的活动图中,我们可以让它去肩负起主力重装的重任:阻挡首言者,专门吃它所造成的“神经损伤”。

但是:要千万小心敌方的法系输出干员。他们是Mon3tr的天敌,占尽了0点法术抗性、且没有法术抵挡的便宜。任意的攻击都能打出高额的伤害,让凯尔希手忙脚乱,奶不过来。当然如果真的非要用,也不是不可以。可以考虑为它再搭配一个二三技能的夜莺增强法抗和法闪,或是在队伍中带上红、砾、傀影等快速复活系干员去吸引敌方火力。要保还是保的下来的,只是实战意义有限,尽量还是让凯尔希去处理物理爆发型敌人。
四、专精收益:凯尔希的一技能“指令:结构加固”在专三存在着一次质变,会额外增加凯尔希10%的物理格挡。考虑到技能本身的强度,建议练度:七级。
五、综合来看:综合来看,凯尔希一技能的强度比较常规。相比常规重装干员而言,多了一口本体的奶,但却需要同时占据地面和高台位。但是这个技能却惨遭自身三技能的碾压,因此出场率严重受限。只建议在前期没有资源精英化时携带使用。
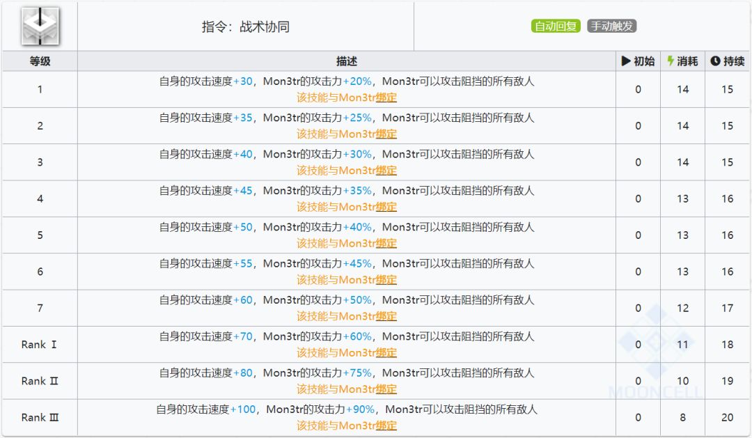
指令:战术协同

“指令:战术协同:自身的攻击速度+60/70/80/100,Mon3tr的攻击力+50%/60%/75%/90%,Mon3tr可以攻击阻挡的所有敌人。该技能与Mon3tr绑定。”
一、技能机制:如果说一技能让她拥有了一名可靠的重装干员,那么凯尔希的二技能“指令:战术协同”就让Mon3tr变成了一名群卫。随着技能的开启,Mon3tr的攻击力大幅增加,且会攻击阻挡的所有敌人(3人)。同时,凯尔希的治疗频率也会随之加快,从2.85秒提升到了1.77秒。她的召唤物开启了狂暴的群攻模式,主人在身后拼命治疗,画面美不胜收,技能达成了某种意义上的完美契合:

我们先来解释一个新的设定词汇:绑定。在凯尔希二三技能的描述中,都明确地现实了“该技能与Mon3tr绑定”,翻译过来就是:只有Mon3tr在场时才能开启技能;当它离场时,开启的技能会强制结束,未开启时所有技力会被清空且无法再回复,直到Mon3tr的再一次登场。

如此严重的惩罚,实则是在向我们传达一个信息:凯尔希和Mon3tr必须都上场,不然就失去了几乎所有战略价值。
二、群体输出:既然Mon3tr将模式切换到了群卫,那我们当然也就要和传统的群卫们掰一下手腕了。这里将敌人设置为了此次活动中出现的精英敌人,略微削弱了一些双抗:钵海收割者(防御力600,法术抗性55,数量为3)。

这里我们选择对比的对象,以物理群攻技能为主,包括:山的“震地碎岩击”、史尔特尔的“黄昏”及“熔核巨影”、银灰的“真银斩”、煌的“链锯延伸模块”、布洛卡的“高压电流”、幽灵鲨的“肉斩骨断”,结果如下所示:

在面对三目标输出时,Mon3tr的全周期输出能力持平了煌的“链锯延伸模块”,爆发力更是成功超越之。但处于几个决战技之下。虽然在伤害爆发方面仍是不及真银斩、震地碎岩击、黄昏这三个招牌决战技,但全周期DPS足够优秀。不过这靠的并不是Mon3tr在非技能期也有高伤害,而是技能的周转率高,这在极大程度缓解了疲软期。、
因此我们概括而言:携带二技能“指令:战术协同”的凯尔希,让Mon3tr拥有了完全不弱于高星群卫的输出,甚至在全周期的平均输出方面还有所领先。同时我们需要注意到,二技能并不止增幅了Mon3tr而已,凯尔希自身的治疗频率也会得到大幅提高。
三、治疗能力:我们再来看一下太后在技能期的治疗能力。虽然她的治疗有着非常明确的优先级,基本以Mon3tr和自身为主,局限性很高。但如果要让Mon3tr担负起阻挡和输出的大旗,进行治疗能力的横向比较也还是很有意义的。这里选取的对象包括:亚叶的“最大剂量输注”、苏苏洛的“深度治疗”、闪灵的“信条”,以及赫默的“治疗强化·γ型”:

凯尔希的单体治疗能力不强,仅略胜过自己的徒弟亚叶一筹,远低于闪灵、赫默,更是只有深度治疗40%的奶量。苏苏洛,永远的神。“指令:战术协同”赋予凯尔希的只是更高频的治疗,却完全不增加实际的治疗倍率,导致单口奶量很低,进而拉低了总治疗量。在治疗端,我们概括而言:凯尔希的核心依旧只是作为Mon3tr的辅助,让这个挡三打三的群卫怪物能更肆无忌惮地输出。
同时,因为攻速的增加,凯尔希在实战中也会去奶奶队友。但如果想要将携带二技能的凯尔希当做常规单奶使用,去照料其他干员的血量,在总治疗量和HPS上还是不够看的。
四、实战应用:在实战中,凯尔希二技能“指令:战术协同”的使用方式几乎是与“链锯延伸模块”完全一致的:兼顾了阻挡和清杂输出。因此这也同样是一个非常适合常规推图的技能:

此时的Mon3tr和煌极其相似,两者不仅身板几乎一样硬朗,也同样是挡三打三。两者的区别在于侧重略有不同,煌的攻击距离更长、持续时间无限,而Mon3tr则不用点火启动,且能受到凯尔希本体的治疗。
五、专精收益:二技能“指令:战术协同”在专精中同步增强Mon3tr的攻击力和凯尔希的攻速,从七级到专三的DPS提升分别是:9.3%、37%、52.6%,提升幅度非常离谱。如果说七级的输出与煌相当,那专三将超越煌(参考DPS3096,煌满潜专三DPS2765)。专一的提升较小,不建议停留。建议练度:7级、专二(推荐)、专三(可考虑)。

六、综合来看:我们可以将凯尔希的二技能“指令:战术协同”当做煌的二技能去使用,只不过原来的塞煌二人组现在优化成了一人一召唤物。在选择携带干员时是精简了,但是缺失了塞雷娅和延长的攻击范围,在整体强度上会有所不如。综合而言,二技能的强度和泛用性都很高,但在已经成型体系中的不可替代性较低,需要根据情况选择。
指令:熔毁

“指令:熔毁:Mon3tr的防御力+140%/160%/180%/200%,技能期间攻击力从+190%/210%/230%/260%逐渐降低至+0%且伤害类型变为真实,此期间如果未击杀任何敌人则技能结束后流失最大生命的50%。该技能与Mon3tr绑定。”
一、技能机制:与二技能变身群卫又有所不同,携带三技能“指令:熔毁”的凯尔希让Mon3tr再度摇身一变,成为了一个专精单体攻坚的刺客。在技能期间,它全身会泛起诡异的红光,攻防两端的属性急剧增加,膨胀到了一个令人发指的地步。它的目标只有一个:旨在对敌人形成击杀。如果未完成击杀,它就会受到剧烈的反噬,直接失去一半的最大生命:

三技能在设定上还有一些细节。第一点是:如果未完成击杀,技能最后的生命流失效果是可以击倒Mon3tr的,这会触发凯尔希的第二天赋,对周围八格内所有敌人造成晕眩和真实伤害。在许多场合,我们也可以故意利用这一机制来对范围敌人形成控制。
另外,攻击力加成效果每1s更新一次,具体数据是:7级的技能每秒降低10.5%的倍率,每次攻击降低21%;在专三的练度下,每秒会降低13%,每次攻击降低26%,直到技能结束时倍率归零。
二、输出能力:我们来测试一下Mon3tr在三技能加持下的输出。考虑到技能的类型是真实伤害,输出时恒定的。不像是其他干员一样,非常受不同级别敌人的防御力变化影响。因此这里分别测试两种情况:一种是面对中等护甲敌人,沿用上文中出现的钵海收割者;一种是测试极限攻坚输出,以超高防御的爱国者为例。
对比的技能以单体物理输出技优先,包括:阿米娅的“影霄·奔夜”、战车的“倾泻弹药”、史尔特尔的“黄昏”、风笛的“闭膛连发”、斯卡蒂的“涌潮悲歌”、棘刺的“至高之术”、芙兰卡的“极致锋度”,森蚺的“钢铁意志”(均按无潜满级7级技能计算),最终结果是:

在面对常规中甲敌人时,Mon3tr拥有着地面干员中最高的输出水准。技能期1400点的对单秒伤数据非常亮眼,超越了斯卡蒂、芙兰卡、棘刺,齐平了对单输出的“黄昏”,爆发能力相当于是风笛的“闭膛连发”。并且因为技能周转率高的关系,接近900点的全周期秒伤也并不差,几乎没有几个比她高的。
接下来我们再测试另一种极限情况:高难攻坚战的表现,将敌人换成爱国者。为了避免数据太过难看,也将干员们的练度从7级无额外潜能,提升到了满潜满专精的顶配情况。结果如下所示:

面对拥有恐怖的2100点防御力的行军姿态爱国者,也只有凯尔希、阿米娅、森蚺三人能对他造成有效的输出。在攻坚作战中,森蚺凭借着的是自身恐怖的攻击力面板和技能倍率,阿米娅和凯尔希两人靠的则是真实伤害,都会爱国者产生了有效的输出。
在实战的输出方面,凯尔希与Mon3tr的输出能力几乎完全与近卫阿米娅一致,是目前对超重甲单位的最优选择。但是如果考虑进一些输出之外的因素,“指令:熔毁”是一个比“影霄·绝影”更优秀的技能:她没有受到使用次数限制,甚至技能覆盖率也非常高。
换句话来表述:如果移除了影霄·绝影的使用次数限制,还将周转率提升到了50%以上,这就是“指令:熔毁”。毫不夸张地说,“指令:熔毁”是目前游戏中最优秀的真实伤害技能。其在常规作战中的表现可圈可点,且拥有着很高的上限,唯一的缺点大概就是总伤害偏低了。
三、防御能力:我们再来看一下三技能期间Mon3tr的阻挡能力。与自身的一技能相比,三技能“指令:熔毁”显然赋予了Mon3tr更高的防御力。在高血量的加持下,它的防御能力几乎已经达到了星熊“荆棘”的水平,非常强壮。这时的Mon3tr有阻挡、有治疗、有高防御力,且技能的整体覆盖率极高、周转极快。

横向对比这两个技能,概括来说就是:三技能在防御端更胜一筹,同时在进攻端的表现达到了游戏最佳的级别;与之相比,一技能只是赋予了凯尔希本体40%的物理格挡和一定的防御力增强。因此我们在绝大多数情况下会优先选择携带或专精三技能,而不是一技能。
四、实战应用:在实战中,三技能“指令:熔毁”核心用法只有一个:刺杀最具威胁的精英或是Boss敌人。因为它能造成真实伤害,所以在作战中面对任何棘手的敌人,都可以选择派出熔毁Mon3tr去完成击杀。哪怕敌人强如爱国者,依旧会被Mon3tr速杀:

因为这一技能的机制是:攻击力加成极高,但流逝的也极快。因此攻速的提升对于Mon3tr输出的意义非常大。如果携带上安洁莉娜,她天赋“加速力场”就能直观地提升“指令:熔毁”9.5%的输出;如果带上阿,榴莲针更是能提高其78.2%的输出,翻倍了专三带来的收益。所以如果想进一步提升Mon3tr的真伤输出,不仅要专精,也要配合带上攻速拐。
五、专精收益:“指令:熔毁”在专精中持续增加Mon3tr的攻防属性,攻击力的提升幅度极高。考虑到Mon3tr攻速的因素,在专精中存在着一次隐形的质变:专二。从七级到专三的DPS提升分别是:5.4%、22.4%、31.4%。整体的提升幅度很高,推荐专二起步。建议练度:7级、专二(推荐)、专三(可考虑)。

六、综合来看:凯尔希的三技能“指令:熔毁”,非常适合攻坚单个敌人的场景。尤其是现在危机合约将至,在各种合约的加成下,高防御的敌人仿佛已经快到眼前了。而要应对这种情况,高额的真实伤害就显得难能可贵。“指令:熔毁”是目前仅有的几个真伤中最强的,推荐所有拥有凯尔希的博士一练。
基建与综合评价
一、基建技能:凯尔希的第一基建技能“未知技术”是在加工站生效的:“进驻加工站加工任意类材料时,副产品的产出概率提升70%。”技术虽然是未知,但实际效果却非常一般。

这虽然是“任意系材料”中的最高加成,要高于梅尔的65%,但在实际的加工站中我们却更偏向于用加成更高的指定材料加成,不会选择任意系的,因此实际的意义有限。凯尔希的第二基建技能是”最高权限”:“进驻控制中枢时,所有制造站生产力+2%(同种效果取最高)”。这是与阿米娅、诗怀雅类似,但又生效点完全不同的新基建技能类型。两者分别是:2%的所有制造站生产力,7%的所有贸易站订单效率。

我们再做进一步的计算,如果按照双贸易站、四制造站的传统基建布局,那综合效率是:凯尔希提供8%的生产力,阿米娅提供14%的订单效率。以目前的效率而言,赤金和经验书的生产力平均在100%+,订单效率平均是105%+。因此如果只能带一个,还是选择阿米娅或者诗怀雅。但是如果能腾出两个位置,那就把她们一起带上吧。
二、潜能提升:凯尔希潜能提升的意义有限,且只有五潜有明显收益。不同于其他干员,本体是Mon3tr的凯尔希对于潜能的需求极小。部署费用的降低、再部署时间的减少、攻击力的增加,都只是作用于凯尔希自身而已,并不能增幅Mon3tr。再加上凯尔希自身的医疗能力很低,因此潜能提升意义非常有限;唯一有价值的是五潜,能额外增加第二天赋0.5秒的控制和200点真伤。综合潜能建议:一潜能、五潜。

三、培养建议:罗德岛医疗部门负责人,凯尔希。她来自过去。她属于现在。对于萌新博士而言,前期携带上凯尔希就相当于携带了一个拥有治疗能力的群卫,这恰恰的群卫最欠缺的。在前期的开荒中能少携带一个医疗干员,在某种意义上会是比煌更好用一些的存在。推荐度:★★★★;
对于常规队伍已经成型的博士而言,凯尔希的战略意义就偏向于:三技能的真实伤害,以及利用Mon3tr的快速复活特性和第二天赋打控制了,整体更像是一个对策性的干员。在泛用性方面,与传统的群卫相比并不具备明显的优势。推荐度:★★★;
对于高练度、有开荒高难合约需求的博士而言,凯尔希三技能的高额真伤是目前的最优解。并且其可开发上限极高,配合上足够多的攻速辅助后又能突破到一个新的极限,这对于高难合约而言绝对是一个福音。推荐度:★★★★★。



