首页
排行榜
发现
云游戏
PC 游戏
动态
发布
论坛
TapTap 制造
聚光灯 GameJam
开发者中心
创作者中心
下载手机 APP
扫码下载
Android APK 下载
版本:v
App Store 下载
版本:v
下载 PC 版
Windows 版下载
版本:v
下载 TapTap
TapTap 手机 APP
扫码下载手机App
Android APK 下载
版本:v
App Store 下载
版本:v
TapTap PC 版
Windows 客户端下载
版本:v
战争警戒
关注
战争警戒
关注
7月15日外挂打击处罚公告
或许不知杂
精华
2025/07/15
1631 浏览
手游官方资讯
尊敬的各位指挥官:
为了保障各位指挥官的游戏体验,我们不间断地进行外挂的收集与查封,对于非法使用辅助类脚本及外挂的玩家采取严格的惩罚措施!
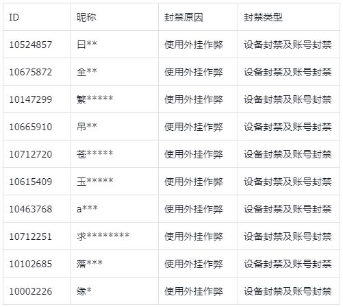
近期根据后台的数据收集,我们发现这些玩家存在着违规使用外挂作弊获取全图视野的问题,严重影响了各位指挥官的游戏体验,因此对其进行永久设备封禁及账号封禁的处罚。以下是本次处罚的名单:
猜你想搜
战争警戒 外挂打击公告
16
2
8