造谣米哈游多人被罚;韩国拟重罚抽卡概率违规,最高10亿 | 一周说「法」
修改于01/17174 浏览综合
文/诺诚游戏法 朱骏超 陈杰 田梦琦
01
索尼“AI幽灵玩家”专利曝光:
AI是否会重塑游戏辅助体验
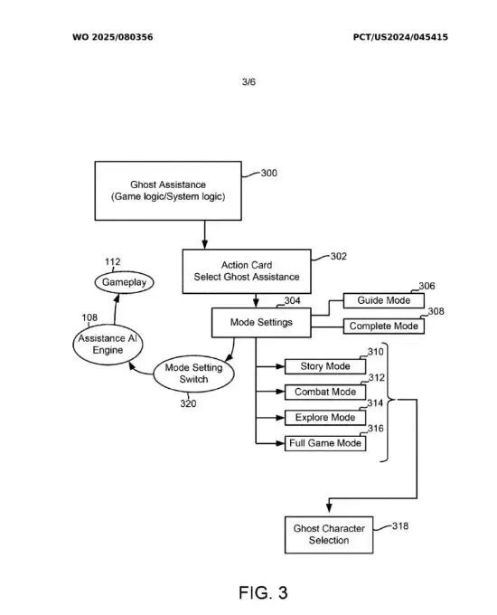
索尼互动娱乐(Sony Interactive Entertainment)近期因一项名为“AI生成幽灵玩家(AI-Generated Ghost Player)”的人工智能专利再次引发行业关注。
该专利最初于2024年9月提交,随后世界知识产权组织(WIPO)发布了其国际现状报告。根据专利披露内容,这套AI辅助系统旨在在玩家游戏遇阻时为其提供实时帮助。
根据专利文件,索尼计划通过多源数据对该AI系统进行训练,包括历史游戏录像、YouTube与Twitch等平台上的公开视频内容,以及PlayStation Network中积累的玩家行为与游戏状态数据。系统将识别玩家正在推进的具体场景与目标,并给出“与当前玩法强相关”的解决方案,而非简单复刻其他玩家的历史操作。其核心交互模式分为:
1、引导模式(Guide Mode):AI幽灵作为教练,在解谜或战斗中演示正确路径或连招技巧。
2、完成模式(Complete Mode):AI直接接管控制权,替玩家通过高难度关卡或乏味的跑图环节。

但需要强调的是,该技术目前仍停留在专利与技术方案阶段,索尼尚未公布明确的商业化或产品落地计划。
诺诚评论:
从字节跳动的“豆包助手”到索尼的“AI幽灵玩家”,AI正从辅助工具进化为具备视觉识别与模拟操作能力的“AI游戏代打者”。而索尼这次的“官方外挂”更会伴随着复杂的法律风险:
1. 知识产权与训练授权风险:根据专利提到的抓取三方平台(如YouTube)视频进行AI训练,在海外法域(如欧盟GDPR或美国版权法)极易触发数据剥削及著作权侵权争议。
2. 对反作弊体系的冲击:长期以来,自动化脚本被定义为“破坏平衡”。索尼此举实质上是在官方层面将自动化合法化。
这将迫使游戏开发者重新思考反作弊(Anti-Cheat)的标准:如果官方AI可以代玩,那么第三方辅助软件的法律定性是否会从“破坏系统”向“侵犯专有功能”转移?当然从官方商业化决策的角度来分析,其很有可能被限制在单机游戏的场景中进行应用,以规避或降低对游戏竞技公平性的破坏。
3. 商业化与玩家权益平衡:“AI幽灵玩家”确实能显著降低玩家流失率,但也可能影响付费道具的销售,此外,还可能对核心玩家群体的交互价值和成就感带来冲击,引发核心玩家的负面舆情。
4. 该专利虽然尚未产品化,但代表了未来游戏智能辅助方向,生成式AI极有可能会重塑游戏辅助体验。
02
韩国拟调整抽卡概率处罚,
最高罚流水3%或者10亿韩元
近日,韩国国会一项针对《游戏产业振兴法》的重大修正案引发游戏行业广泛关注。

该修正案旨在严厉打击游戏内概率型道具(俗称“抽卡”或“开箱”)的概率造假和未公示行为,拟对违规企业处以最高营业额3%或10亿韩元(约合人民币540万元)的巨额罚款。
此前最高2000万韩元的定额罚款规定长期被外界诟病,认为处罚力度远低于违规行为所带来的实际收益,难以形成有效震慑。
在这一背景下,本次修正案被提交国会,引入了按营业额比例罚款的机制,直指大型游戏公司的收益要害,旨在通过加重违规经济责任,遏制游戏公司“钻空子”的行为。
修正案另一关键点在于确立了更严格的“无过失证明责任”。
这意味着游戏公司不仅需要公示概率,还必须建立可验证的技术机制,确保后台代码与前端显示概率完全一致。一旦出现偏差,企业若无法证明是技术故障而非故意欺诈,将面临严厉处罚。
此举源于行业内屡禁不止的违规案例。例如,Webzen公司旗下游戏《奇迹大天使》曾隐瞒“在一定抽卡次数前,稀有道具概率实际为0%”的关键信息;Com2uS公司也因道具实际效果与宣传不符而受罚。
法案发起人金圣会议员指出,“概率型道具问题并非单纯的信息遗漏,而是破坏了建立在用户信任基础上的市场秩序。”他表示,只有当游戏公司不再依赖短期牟利的投机行为,而是通过更高的作品质量和游戏性展开竞争时,企业自身乃至整个韩国游戏产业,才能实现可持续发展。
诺诚评论:
近年来,韩国对游戏概率问题的监管逐渐从“有无公示”的形式审查,转向“是否真实”的实质监管,此次修正案的处罚力度更是呈现指数级加强。
而实践中,监管部门对游戏概率造假的执法行动也日益频繁。除了核查概率未公示、概率公示造假等常规问题外,还有核查将“单次抽取概率”与“通过保底机制获得的综合概率”混合公示的问题。
本次修正案向游戏公司释放出信号:游戏出海韩国依赖“概率黑箱”赚快钱的模式风险极高且不可持续。最终,出海游戏的核心竞争力仍应回归到玩法、叙事和品质上。
03
米哈游打击造谣者,
多名网络博主被刑事/行政处罚
近日,米哈游公司针对多名网络博主恶意造谣、诋毁企业及游戏玩家的违法行为展开维权行动,涉事人员已被公安机关依法处罚,有效维护了企业声誉与玩家权益。
据了解,网络博主“番鼠鉴赏家”(黎某)在多平台发布不实信息,诋毁米哈游旗下游戏并辱骂玩家,破坏社区环境。经上海市徐汇警方调查,黎某因散布谣言、扰乱社会秩序被处以行政处罚,米哈游亦对其提起民事诉讼。
另一百度贴吧用户“sijsusu”(常某某)为博取流量,散布《绝区零》“被内部放弃”等不实言论,造成不良影响,已被警方依法处罚。

此外,警方还侦破一起针对米哈游有组织的造谣案件。嫌疑人齐某某编写谣言大纲后利用AI生成文章,并指使范某以“海参源”为名发布十余篇虚假内容,二人因涉嫌寻衅滋事罪被采取刑事强制措施。
米哈游还通过行政及民事途径对多位侵权人追责,相关人均已承担法律责任。
04
杭州高新区市监局发布
网络游戏服务合同范本
近日,杭州高新区(滨江)市场监管局正式发布《杭州高新区(滨江)网络游戏服务合同范本(试行)》。该范本是浙江省内首个专门针对网络游戏服务的合同范本,旨在明确经营者与用户的权利义务,为蓬勃发展的游戏产业提供规范化指引,助力其高质量发展。
范本首次明确定义“游戏收益”,强化虚拟财产保障,规定经营者针对用户账号异常行为作出处理需以点对点形式通知用户,涉及游戏合服、合区等重大运营调整的需提前7日公示调整内容。
在个人信息保护方面,要求大数据分析需进行匿名化处理。同时,范本引导经营者为UGC(用户生成内容)明确划分知识产权边界,鼓励合规创作。
针对社会关注的未成年人保护与“停服”问题,范本设立了专章,明确未成年人冒用身份消费的可退费原则及责任分担机制,并规范了服务变更与终止的程序,保障用户的知情权和选择权。
下一步,该区将鼓励区内企业参照使用该范本,并通过备案抽查、动态更新等机制推动其有效落地,持续发挥行业引领作用。



