明日方舟:详细测评!六星神射手远牙,干员使用指南和数据分析
宝藏2021/10/284683 浏览攻略
六星狙击干员,远牙。今天我们抛开厨力不看,根据各种数据以及实战的表现,来详细测评一下她的强度。一共分成六个版块:面板数据、天赋与特性、技能单独解析(2)、模组测评、基建与综合评价,让我们开始吧!
远牙:六星神射手

面板数据:六星狙击干员,远牙。她的特性是“优先攻击攻击范围内防御力最低的敌方单位”。以前我们俗称的“广域狙击”,现在已经统称为“神射手”了。攻击范围极广的她们,就像是战场中的狙击手一般。每一发子弹能够造成极高的伤害,但是却只能攻击一个敌人,攻速也相对缓慢。
在面板数据的对比上,我们主要以同一子职业的神射手作为参照,额外加入了其他一些六星狙击作为辅助参照,其中包括:安哲拉、守林人、安比尔、空弦、能天使、早露、黑(不考虑天赋,除安比尔外均按精二满级无潜能计算)

远牙秉承了神射手一贯的高攻,拥有着全狙击干员中最高的攻击面板。接近1300点的攻击力是六星速射手能天使的两倍有余,直观地体现在了她强大的单点能力上。虽然远牙的每一次的攻击虽然需要间隔2.7秒,但无论是伤害还是破甲线都很令人满意。
因此对于远牙的这份面板而言,她最需要提升的短板就是攻速了。攻击间隔的缩短、攻击速度的提升都将会成为对远牙收益最高的属性。如果寻求搭配组合可以从这方面入手,断崖的“索敌援助”或是安洁莉娜的“加速力场”都会成为不错的选择。

天赋:屏息凝神
“凝神:最近10秒内未受伤害时,攻击力+15%/+18%。”
远牙的第一天赋“凝神”,是对于自己高攻击力的再次增幅。对于面板攻击力本身就达到了1296的远牙而言,这一天赋带来的提升数值足有194点(潜能4时为200点,潜能5时为240点),实在是高得惊人,足以称得上是面板怪物了。没有接受任何辅助的远牙,在开启三技能后的攻击力面板就能突破3000点大关,隔壁的近卫馋哭了:

我们唯一要留意的,就是判定问题。远牙第一天赋“凝神”的判定标准是:10秒内未受到伤害,不是未受到攻击,也不是未损失血量。这就代表着:受到攻击但是没有伤害,并不会导致天赋失效。这就意味着,只要远牙成功闪避了攻击、护盾抵挡了攻击,甚至是因为生命流失效果而损失了生命值,都不会导致第一天赋效果失效。因此像是华法琳的“不稳定血浆”,并不会和远牙产生相性冲突,是可以搭配作战的。当天赋成功触发后,远牙的武器上会出现明显的“光华流转”特效,下面是对比图:

“屏息:技能开启时不容易成为敌人的目标,且攻击无视目标的物理闪避。”
远牙的第二天赋“屏息”有两部分的效果。第一重是保障生存的能力,和限定炮手W的“设伏”同款,都算是从隔壁地刺的身上偷师了。他们自带反嘲讽,但却不像伏击客那样直接刻在了特性之中,存在着一些限制:W需要在战场中停留10秒才触发,远牙需要开启技能,并非全程覆盖。
“屏息”的重点在于第二重能力之上,远牙在技能期间的攻击能无视目标的物理闪避,这一点非常关键。不仅在极大程度上保证了自身能够打出输出,并且还能对部分敌人形成克制。尤其是在未来的危机合约之中,很可能出现增加敌人物理闪避的合约词条。如果再遇上全息投影MK2那样的敌人,将会成为远牙发力的时刻。
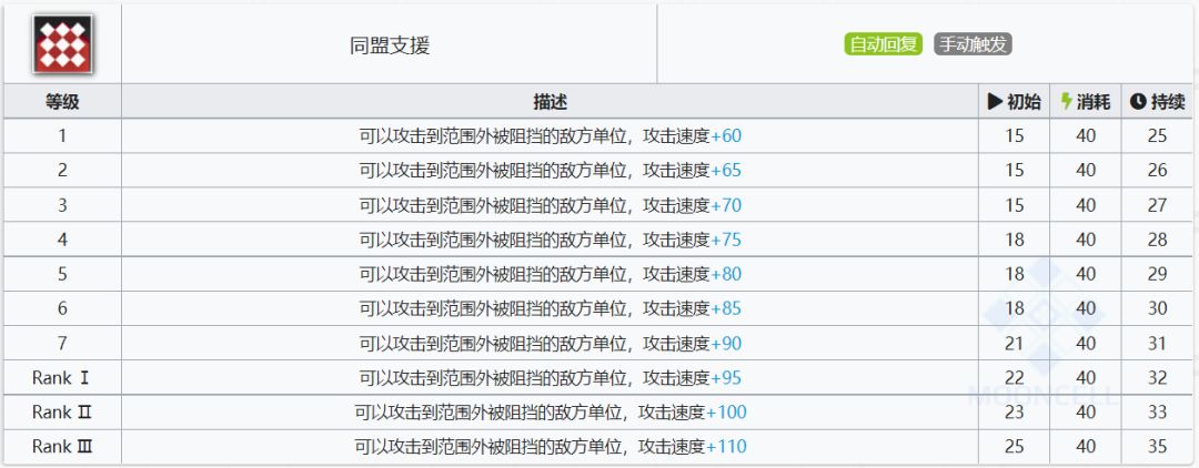
同盟支援:全图射击

“同盟支援:可以攻击到范围外被阻挡的敌方单位,攻击速度+90/95/100/110。”
一、技能机制:远牙的二技能“同盟支援”可以说是站在了巨人的肩膀上,带来的两项增益都恰好是远牙最迫切需要的:进一步强化了她的射程,提升了她的攻击速度,完全发挥了远牙对超广射程内目标造成打击的能力。实战如下图所示:

在开启技能之后,远牙的射程从原本的“身前四排十九格”提升到了全图,只有一个触发条件:敌人被阻挡。再结合她自身的特性来一起看,整个攻击逻辑概括就是:攻击全图中被阻挡的防御力最低的敌人。
二、输出能力:我们先来测试一下远牙的输出能力。由于她的一技能“迅捷打击·γ型”实在是过于常规,这里就直接与二技能“同盟支援”放在一起看,将它的DPS数据融入其中。考虑到神射手会选择防御力最低的敌人这一特殊索敌机制,因此我们选择了低物防的敌人进行计算:整合运动卫兵(防御力70,法术抗性20,数量为1):

这里的对比参照对象是各位神射手:安哲拉的“阻滞射击战术”、守林人的“环境伪装”、安比尔的“雷达定位”。当然也要考虑其他的六星狙击,包括能天使的“过载模式”、灰烬的“突击战术”、黑的“暮眼锐瞳”、假日威龙陈的“假日风暴”(均按无潜满级7级技能计算),最终结果如下:

在面对低甲敌人时,远牙一二技能的输出表现都很惨淡,与下位守林人保持基本一致,难以和其余六星相比较。她二技能的秒伤只有不到800点,无论是爆发能力还是周期输出能力,都堪堪只有五星的水准。尤其是和擅于处理低甲敌人的能天使相比较,远牙的爆发能力只有对方的不到五分之一,周期输出能力只有一半,太过于凄惨。
那如果我们将敌人换成700点的重甲单位,结论会发生什么变化呢?所有干员的技能练度从7级调到了专三,装备上了新的模组,潜能也达成了满潜,结果如下:

在最高练度的情况下,远牙面对重甲敌人时的表现得以翻身,整体介于速狙之上,但在散射手与重射手之下,属于第二梯队。不过遗憾的是,在高练度的加持下,远牙的两位理论下位安哲拉与守林人,输出都高了她不止一筹,就很尴尬。与兼顾了输出和控制的安哲拉相比,远牙不仅在控制力方面是完全的空白,爆发能力也只有对方的一半。
因此,我们概括而言:“同盟支援”的输出能力很不过关,整体的强度甚至在五星之下。但是作为一名六星狙击,输出能力这么不足,总会在其他方面有所代偿吧?是的,她能够在队友的阻挡辅助下进行全屏攻击。
三、实战应用:远牙二技能“同盟支援”的实战定位,更像是安比尔“雷达定位”的上位。只要能成功触发,她会获得攻速的正向提升,而不像安比尔一样产生增加攻击间隔和攻击前摇这样的负面变化,这直接导致了她的输出超出了安比尔整整一倍。

但是远牙的触发条件更为苛刻:她不仅要开启技能,同时还要队友帮忙辅助阻挡。因此我们在作战中也要围绕这一点展开做文章,让她能够充分发挥“全屏攻击”的优势。

远牙和空降系、绝食系这样的孤单英雄组合,将会产生很好的化学反应。这里比较推荐的是:傀影、山、泥岩、赫拉格、羽毛笔,前者突出了一个自由,可以携带“暗夜魅影”去阻挡各处出现的危险敌人,远牙正好能够帮他补足输出;后面四人都是独守一路的基石,远牙能够帮助他们缓解压力。比如在主线7-15中,远牙可以部署在上路处理敌人,在下路需要帮助时开启技能:

当然,远牙的玩法还有很多。比如在多战区的分区域作战中,或者是将她部署在一些安全而隐蔽的位置上悄咪咪地输出,都会是不错的选择。她的使用核心就只有一个,那就是充分发挥全屏攻击的优势,同时多携带一些阻挡能力强的干员。

四、专精收益:远牙的二技能“同盟支援”在专精中会提升技能持续时间和攻速增幅数值,不存在质变。从七级到专三的平均DPS提升分别是:9.1%、13.6%、27.3%,提升虽然显著,但受制于先天输出强度不足。建议练度:一技能不建议专精,二技能建议七级(推荐)、专三(可考虑)。

五、综合来看:远牙的二技能“同盟支援”是一个适用性极强的支援型输出技能。全屏赋予了它极强的功能性,光芒要远远盖过其纯粹的输出表现。她更适合作为队伍中的副输出,在远处进行伤害补足和补刀。如果在作战中伤害总会有些不足,那么就可以考虑携带一个二技能的远牙进行支援。
光羽箭:加长版战终

“光羽箭:攻击范围改为前方无限长的直线,攻击力+100%/110%/120%/140%,攻击原本范围以外的目标时,造成的伤害提高至130%/140%。”
一、技能机制:远牙的三技能“光羽箭”,就像是另一个版本的“战术的终结”。两者都是将攻击范围变成了身前的一直线,同时大幅提升了自身的攻击力。结合特性来看,两者一个是侧重于重甲攻坚,一个则更侧重于清理低甲单位,各司其职。
但差别也非常明显:远牙的攻击距离是无限长的。这份特殊的攻击距离,可以看作是伊芙利特、爱丽丝、黑的终极形态了,只要是在她身前的敌人,就必须接受她光羽箭的洗礼。每一发射出的箭矢,都会洒下一路由光形成的尾羽,直至贯穿眼前的敌人:

二、输出能力:超高的攻击倍率加成和增伤,让远牙的三技能“光羽箭”成为了单点物伤的利器。这里沿用上文中的测试对象和那些技能,额外加入了白金的“天马视域”和黑的“战术的终结”。尤其是后者,虽然与之一近一远,但整体极为相像。

在面对轻甲敌人时,远牙的爆发能力低于其余所有六星狙击,周期输出亦是如此。由于神射手特性的存在,这是她理论上会优先打击的敌人,但表现却不尽如人意。1450点的爆发能力、900点出头的周期秒伤,虽然不再被自己的下位安哲拉所欺压,但也不足以担得起队伍中核心输出的重任。
同样,我们再来看看面对重甲敌人的表现。由于三技能拥有着高倍率的加成,专三后的远牙应当具备不俗的开罐头能力:

在面对重甲敌人时,高练度的远牙和黑在输出端的表现几乎完全持平,两人形成了奇妙的默契。此时她的伤害完全能拿出来看了,单次伤害问鼎狙击之最,爆发力和周期输出能力也成功与黑、假日威龙陈站在了同一水平线上。
因此我们概括而言:只有在面对中重甲时,远牙三技能“光羽箭”的输出才达到了六星的水准。她并不是处理轻甲最好的干员,正确的定位应该是:利用自己无限距离的射程,清理所有类型的危险敌人。她的优势不在于清理速度,而是稳定的超高破甲线和射程之上。
三、实战应用:在实战中,远牙的这份输出足以应对各种类型的敌人,只要他们能处在她的身前一排。我们并不会用远牙像黑一样去处理身前的近距离敌人,而是要利用无限长的射程去清理远方的高危低甲敌人。比如在主线关卡中,常常可以用她去清理远距离待命的敌人:

这里需要格外留意一点:攻击初始攻击范围外的敌人,才能吃到增伤效果。这也不仅仅关乎技能中的伤害提升,也包括了模组提供的远距离增伤。所以远牙的核心就是清理四格距离以外的敌人,在一些特殊地形中会有奇效。
再结合神射手的特殊索敌机制来看,远牙能成为一张针对部分低甲但特效极其棘手敌人的对策卡,比如合约加成下的酸液/冰爆/高能源石虫、囊海爬行者、萨卡兹系列敌人、技术侦查兵、全息幻影MK2等等。他们在进入我方干员的射程后,都会造成极大的威胁,那么在这之前进行远距离歼灭就是一种不错的对策。比如在危机合约轮换图荒漠中,就有适合她的完美地形:

四、专精收益:远牙的三技能“光羽箭”的质变点在专二和专三,攻击力和增伤的幅度都有一次飞跃。从七级到专三的DPS提升分别是:5.5%、26.8%、50.1%。这里需要着重提一下专二,虽然看上去提升很普通,但是19秒的持续时间是足够远牙打出第8次攻击的,因此这一阶段的提升很大。综合建议练度:七级、专二(推荐)、专三(可考虑)。

五、综合来看:远牙的二技能“光羽箭”,是一个极其特殊的对策解。随着游戏版本的推荐,各种特殊效果的敌人层出不穷,传统的阵地战的打法有些岌岌可危。远牙的出现为我们提供了一种远距离作战、分区域歼灭的战术可行性思路,因而存在着很大的潜力。但是由于她在常规练度下伤害的明显不足,要使用只建议采取专三高练度。
模组:首战支援套组
一、模组介绍:这是从本篇测评开始的新增版块,我们会单独测试一下干员模组带来的收益,给大家提供一个参考,便于决定要不要花费精力去进行升级。远牙的模组名为首战支援套组,会对她的特性进行分支追加,其具体效果是:“攻击越远的敌人造成的伤害越高(最高提升15%)。”

同时,这套模组还会增加她的部分面板属性,提升70点攻击力与5点攻击速度。我们以精二60级作为起步门槛,直接测算在各练度下远牙的输出提升,包括:精二60级一潜、精二60级五潜、精二90级一潜、精二90级四潜,以及精二90级五潜,结果如下:

对于远牙而言,这套模组为她带来的提升可以概括为:输出平均提升26.4%,精二60级的初始练度收益最高。这份提升还是非常高的,差距几乎是大多数技能从7级到专三的提升。哪怕审视远牙自身,模组系统带来的提升也超越了二技能专三,相当于三技能专二。
因此如果打算启用远牙,那么就必须尽快安装上这套模组,顺序是:精二60级>模组“首战支援套组”>三技能专二>精二90级>三技能专三>二技能专三,仅供大家参考。
基建与综合评价
一、基建技能:远牙的第一基建技能名为“红松骑士团·β”,其具体效果是:“进驻制造站时,生产力+25%。”很遗憾,远牙并不能加入水月的“标准化”新体系。作为卡西米尔人的她或许之后会与耀骑士临光有所互动,但就目前而言,用处不大。

远牙的第二基建技能名为“归乡”,其具体效果是:“进驻宿舍时,自身心情每小时恢复+0.55,该宿舍内所有干员的心情每小时恢复+0.1(同种效果取最高)。”这是一个和风笛、赫拉格的同款技能,主要作用就是加速自己再上班的速度。考虑到上文中远牙的第一基建技能并不实用,这加速恢复也就不存在太大意义了。基建综合评价:暂且用不上,勉强作为制造站后备力量。
二、潜能提升:远牙的潜能提升的核心是四潜和五潜,每一滴伤害的提升都弥足珍贵。在四潜时,远牙额外获得了40点攻击力,化为DPS的变化是3.4%,中规中矩;但五潜则完全不同,第一天赋倍率的提升看似很美,会让伤害随着远牙的练度提升而提升,但实际最高只能带来1.4%。综合潜能建议:拥有即可。有条件再追求四潜,其次五潜。

三、培养建议:“远牙”骑士查丝汀娜,不会漏过任何目标。对于萌新博士而言,远牙并没有那么好用。作为一名神射手的她难以像速狙一样去快速清理无人机,也没有近狙那般暴力开罐头的直截了当。同时,早期的神射手们非常吃攻速的亏,容易产生漏人。唯一值得称道的是她们的攻击范围,推荐度:★☆;
对于常规队伍已经成型的博士而言,远牙就开始具备一定的战略意义了,可以作为队伍中的副狙出现,专职用来补伤害。二技能“同盟支援”的伤害虽然丢人,但胜在能够全图支援,无论是配合空降特种还是绝食系干员都是不错的选择,能降低他们的压力。综合推荐度:★★☆;
对于超高练度、众多狙击干员已经精二专三的博士而言,我们就要将重点放在她的特殊对策作用之上了。远牙三技能那无限长的射程,再配合上她的各种远距离增伤条件和技能期无视敌人闪避的特性,非常适合针对那些近身会产生威胁的敌人,比如各类源石虫和囊海爬行者。但由于过于依赖地形,让这份特殊对策作用的场景变得更为狭窄,降低一些推荐度:★★。



