米哈游UE5旗舰作定名《雨雾之都》!蔡浩宇带队400人研发
01/156899 浏览综合
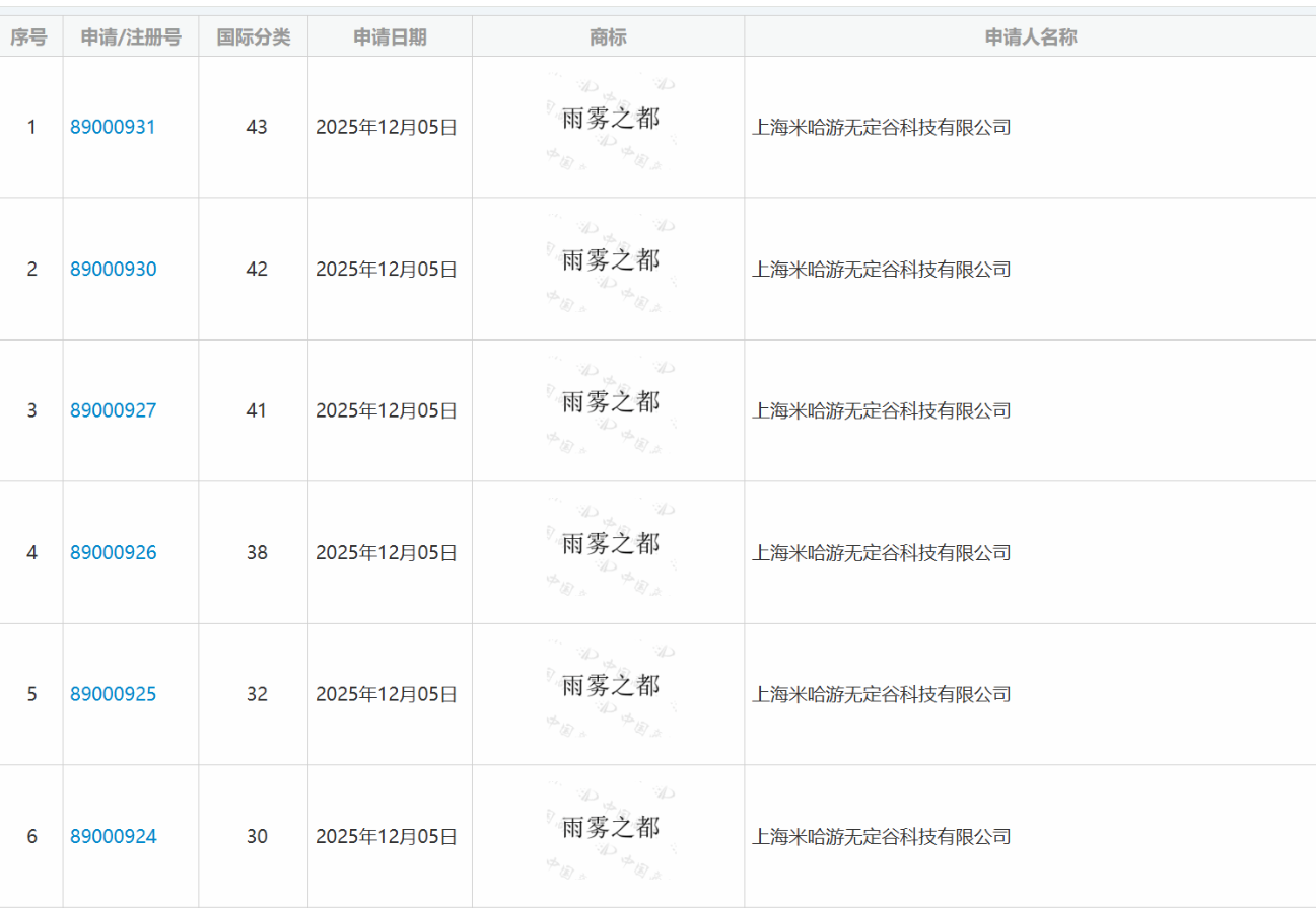
米哈游战略级UE 旗舰新游Varsapura正式公布官方中文名 ——《雨雾之都》,目前该名称已进入全球商标注册实质审查阶段,海外“Varsapura”商标布局已完成,国内注册稳步推进。

这款都市开放世界新作由蔡浩宇亲自带队,集结上海、新加坡、洛杉矶、蒙特利尔四地近400人团队联合研发。作为前“PJSH”项目重构后的旗舰作品,其研发投入已超《原神》同期,团队跨地域分工攻克UE5渲染优化、动态叙事等关键技术。此前发布的 31 分钟实机 PV,不仅解锁了核心玩法与世界观,“雨雾” 二字更精准呼应了P 中雨雾缭绕的都市景观与超现实氛围。

目前游戏已完成原型设计,正面向全球招募AI行为系统、动态叙事策划等核心岗位人才。结合研发进度与行业惯例,业内普遍预计《雨雾之都》将于2027年后正式发售,这款写实风格的开放世界新作已成为全球玩家关注焦点。




