明日方舟:最速详评!六星沙暴术士卡涅利安,干员使用指南和数据分析
宝藏2021/06/083 万浏览攻略
六星术士干员,卡涅利安。今天我们抛开厨力不看,根据各种数据以及实战的表现,来详细测评一下她的强度。一共分成六个版块:面板数据、天赋与特性、技能单独解析(3)、基建与综合评价,让我们开始吧!
卡涅利安:六星环法

面板数据:六星术士干员,卡涅利安。根据她的特性“通常时不攻击且防御力和法术抗性大幅度提升,技能开启时攻击造成群体法术伤害”出发,可以确认是目前游戏中出现的第三位“沙暴术士”或是“环法”,擅长对周身范围内的单位造成伤害和形成控制。
在面板数据的对比上,我们主要对比五星同子职业的薄绿和蜜蜡。但也选择了其他类型的术士干员作为辅助参照,各种类型各取一位,包括:异客、夕、艾雅法拉、伊芙利特(不考虑天赋,均按精二满级无潜能计算)。

卡涅利安的面板数据要全面高于下位的蜜蜡和薄绿,无论是在攻击还是生存端都有着很大的领先;与其他六星术士相比,她的面板也无疑是最优异的。她高达926点的攻击力,远超代表“雷法”的异客和代表单法的艾雅法拉,甚至已经非常逼近以高攻著称的群法了,只低了不到50点。
在生存能力方面,卡涅利安更是冠绝一世,同时拥有着术士中最高的血量和防御力。在自身特性的配合下,平时的常态防御力甚至能达到774点,这已经完完全全是重装干员的水准了(参考数据:星熊常规防御力830,塞雷娅叠满被动防御力786)。毫不夸张地说,卡涅利安的数据面板极其优秀,生存力更是高台干员的顶点,甚至不输于同星级的重装。

我们总结概括一下这类“沙暴术士”的模板:她们的部署费用适中,攻防两端的面板都极高。她们的攻击范围特殊且能够同时攻击范围内所有敌人,在技能未开启时拥有着极强的生存能力,似乎是一个超级全能的选手。但是我们从古尔丹的教训中得知,卡涅利安也为这份强大在暗中付出了相应的代价:在未开启技能无法攻击。

蓄势待发的生命之餐
“生命之餐:开启技能时立即恢复40%/45%的最大生命值;蓄力时效果翻倍。”
在聊卡涅利安的天赋与技能之前,我们先要详细解析一个机制:蓄力。这一特殊的机制有别于我们熟知的白金与萨卡兹穿刺手,具体描述是:“技力达到上限可继续回复,回复至上限2倍时进入蓄力状态,此时开启技能会触发额外效果(任何时候开启均消耗全部技力)。”简单解释就是:蓄力带来了一条额外的技力条,能让卡涅利安释放出更强的技能。

在蓄力完毕后,卡涅利安的黄色技能小图标会变暗色的。对于这位六星术士而言,其实拥有着两条技力,第一条满了后就能开启技能,在第二条满了之后会带有额外的伤害或效果。 我们再聊回卡涅利安的第一天赋,她在开启技能时能获得巨额的生命回复:常规情况下是40%/45%,蓄力后提升到80%/90%,几乎就是一口奶满自己的水准,治疗量极为恐怖。

但是这里有一点需要我们格外注意的:第一天赋“生命之餐”的回转情况,会因为她携带不同技能而产生很大的差别。其中一技能“沙暴守卫”的回转情况最佳,回血的覆盖率也最高,三技能“食噬之印”的回转情况最差,这一点差异还会因为“蓄力”的特殊机制被进一步放大。
因此对于我们而言:如果血量危机,紧急开启技能来回血也会是一种选择。虽然蓄力后的技能会有显著的增强,但周转起来也更慢。如果生存状况不容乐观,这种“通过反复开启技能来回血”的用法也值得我们考虑。
“蓄势待发:技力超过上限时,技力自然回复速度+0.6/秒。”
卡涅利安的第二天赋名为“蓄势待发”,其实际意义就是:让她能够更快地完成第二次的充能。也正是由于这一天赋的存在,卡涅利安的蓄力并不是我们理解的“需要双倍的准备时间才能完成蓄力”,而是会更快一些。下面是一张对比图,可以明显地观察到卡涅利安的这两次充能速度有所不同:

同时,她的这份天赋是可以和白面鸮、莫斯提马的天赋是叠加生效的。这两位对于卡涅利安的辅助作用非常明显,能让她的技能更快完成蓄力,大幅提高周转。我们再来看一张对比图,左侧是无莫斯提马,右侧则是有,差距会很明显:

同时,所长也做了一张汇总表,统计了在各种情况下卡涅利安的技能周期和周转情况,供大家参考。概括而言:在白面鸮的辅助下,能节省6至11秒;在莫斯提马的辅助下,能节省7至12秒,周转方面的提升非常明显。

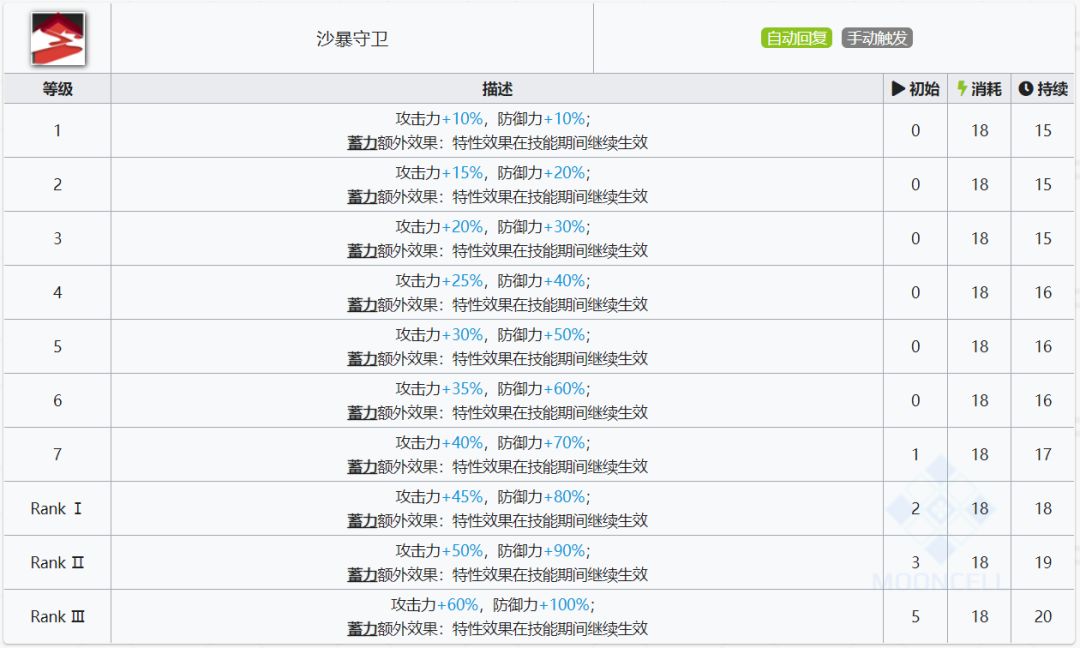
沙暴守卫:高台重装

“沙暴守卫:攻击力+40%/45%/50%/60%,防御力+70%/80%/90%/100%;蓄力额外效果:特性效果在技能期间继续生效。”
一、技能机制:卡涅利安的一技能名为“沙暴守卫”,是朴实无华的增幅攻防双端属性的自回技能。但是如果能够达成蓄力,那么她还将获得一重额外的效果:在技能期间再获得防御力与法术抗性的大幅度提高。朴实归朴实,但如果技能的强度上去了,那会赋予她足够强大的能力。
尤其在防御力方面,一技能“沙暴守卫”所带来的增幅是在干员自身的面板基础上进行叠加的,这会让本来防御力就是高台干员之最的卡涅利安,硬度再上升到一个非常恐怖的程度。

二、输出能力:我们先来测试一下“沙暴守卫”在输出端的数据。在敌人的选择上,我们沿用之前薄绿与蜜蜡测评中出现的法系无法术抗性、但是身板很硬、血量很厚的精英敌人:重装五十夫长、粉碎攻坚组长(防御力1999,法术抗性0,数量为3/6)。

这里先说面对三目标时的伤害。我们不仅要对比她的两个下位干员,同时也会以具有范围输出能力、但目标数受限的群法作为主要参照,包括:薄绿的“风语”、蜜蜡的“沙暴扩散”、天火的“天坠之火”、莫斯提马的“序时之匙”、惊蛰的“初雷”以及远山的“命运”:

通过数据对比,可以发现:卡涅利安的输出能力完全等同于携带一技能的蜜蜡。携带一技能“沙暴守卫”的卡涅利安,面对三目标时的输出能力并不抢眼。其实也不止是她,几位挂机系术士都仅有四星群法远山的水平,在输出端的表现并不亮眼。但是考虑到这三位干员都有着“真群攻”的优势,如果我们再给她们一次机会,将敌人数量增加至于六人,重新与其他“真群攻”的术士技能同台竞技,结局会有怎样的不同呢?

卡涅利安“沙暴守卫”的伤害输出能力垫底,甚至还要略低于同一子职业的五星蜜蜡和薄绿。在技能期,秒伤仅优于四星干员远山的“命运”,低于上表中的其他所有术士;在全周期,1400的秒伤也只能和蜜蜡、薄绿两人抱团取暖,一起吊车尾。
结合以上两个伤害测算表,我们对于一技能“沙暴守卫”的输出强度有了结论:常规开启一技能的卡涅利安,输出能力并不强,只有五星干员的强度;真正要让她有所发挥,还要看蓄力后的变化。那接下来我们就来聊聊,在完成一技能的蓄力后,卡涅利安在生存端会有多强壮。
三、生存能力:由于特性和天赋的相互作用,卡涅利安在防御力、法术抗性、生命回复端都有着非常优异的表现,概括而言就是:生存能力。我们来横向对比一下各位高台干员在这方面的数据,包括:浊心斯卡蒂的“同归殊途之吟”与“、凯尔希的“指令:结构加固”、闪灵的“自动掩护”,对比中能有一个很直观的感受:

在技能期间,卡涅利安的防御力毫无疑问地位列高台干员之最。常规非技能期的防御力也位列第二,确实能够让她登上目前游戏中最坚硬的高台宝座了。卡涅利安的极限防御力面板能够达到恐怖的1032点,足以与携带防御技能的六星干员媲美(参考数据:荆棘星熊1065)。
唯一的遗憾就是:特性所带来的防御力,并不受一技能的倍率加成。其具体的计算方式是:卡涅利安的防御力*(特性倍率+技能倍率),简单来说就是将非技能期200%的防御力加成,提升到了270%而已。整体概括而言:卡涅利安虽然输出能力有限,但却拥有着极强的生存能力。
四、实战应用:在实战中,我们需要更多发挥的就是一技能的生存向能力,才是卡涅利安的真正解法所在。核心用法是:高台承伤位,吸收危险远程敌人的输出,同时打一些辅助伤害。比如主线和龙门新街里的狂暴宿主投掷手,或是无人危楼中的高威胁无人机,它们在卡涅利安的面前都将是隔靴搔痒的小朋友而已:

依靠着强大的生存能力,也衍生出了卡涅利安的另一种用法:可以将她部署在一些本身极其危险的位置上,去进行输出耗血。既然如此坚硬,那就直接莽上去吧!

凭借着坚硬的身板,卡涅利安能够去承受弩炮和敌方远程物理单位的攻击。我们完全可以考虑将她作为高台重装,挡在我方其他脆皮干员身前,也是一种非常不错的用法。
五、专精收益:卡涅利安的一技能“沙暴守卫”不存在质变,只是不断地增幅她在攻防两端的数据。从七级到专三的平均DPS提升分别是:3.6%、18.9%、26.9%。考虑到一技能本身在输出端的数据很弱,生存端又因为算法的关系在专精中没有获得太大的提升,因此建议练度:七级。
六、综合来看:卡涅利安的一技能“沙暴守卫”是一个兼顾了输出的生存向技能,她彻底履行了一位高台重装干员的职能。在许多危险的地形中,这个技能极其侧重于生存向的技能不仅能为我方的其他干员提供很好的保护,同时也能削弱广域范围内所有敌人的血线,具有非常不错的战略作用。
沙缚镣锁:控场型输出

“沙缚镣锁:攻击间隔较大幅度缩短/大幅度缩短,每次攻击对目标造成0.2秒停顿;蓄力额外效果:攻击力+15%/20%且停顿变为束缚0.4/0.5/0.6秒。”
一、技能机制:与一技能的侧重于生存不同,卡涅利安的二技能“沙缚镣锁”为她带来了极为强大的控制能力。在技能启动后,她不仅攻击间隔会得到较大幅度的缩短,并且每一次攻击都能对范围内的所有敌人造成短时间的停顿作用,就像是群攻的减速系辅助。
如果完成蓄力,卡涅利安的攻击力会获得少量的提升,同时她所能形成的具体控制类型还会再发生一些改变:从短暂的“停顿”变为更长时间的“束缚”,对范围内的所有敌人形成更强的控制。完成蓄力还会给她带来更酷炫的技能特效,手中那柄原本黯淡无光的法杖,会散发出如太阳般璀璨的光辉:

演示动画截止到上周四之前,这里其实是存在着一些bug的:游戏中的原文描述是0.3秒停顿,但实际表现却是0.2秒,两者是不相符的。目前这一点已经被修复了,我们下文也按照被修复后的0.3秒停顿来进行计算。
二、输出能力:在二技能“沙缚镣锁”的伤害测算上,我们会有两个维度进行测算:一是“是否完成蓄力”,二是“敌人3人或6人的不同数量”,希望能显得更全面。这里沿用上文中的敌人和对比技能不变,如下所示:

不同于侧重于生存的一技能,卡涅利安的二技能拥有着非常不俗的输出。常规开启情况下的输出能力,已经完全不亚于莫斯提马的序时之匙,在蓄力后更是有着不小的领先优势。

在面对超多目标输出时,卡涅利安4600+的输出秒伤虽不到目前输出的顶点夕和艾雅法拉的一半(参考数据:12000+),但却已经不逊色其余的绝大多数术士技能,也胜过了两位五星下位干员,处在一个“比上不足、比下有余”的位置上。
概括而言:当我们选择携带卡涅利安的二技能“沙缚镣锁”时,我们可以依靠她去打一定的输出,但不能作为输出的绝对核心主力。她的伤害能力还不足以扛起队伍输出的大旗,因为她将更多的侧重放在了控制上。超广域范围、高覆盖率的停顿和束缚,才是二技能的灵魂。
三、停顿与束缚:卡涅利安具有控场能力,但是她是否蓄力所导致的控制力却有着天差地别。我们这里分成两种情况进行对比。先考量她常规非充能状态的技能,对比的是范围型的停顿或是减速技能,包括:铃兰的“狐火渺然”、塞雷娅的“钙质化”、麦哲伦的“高效制冷模块”、异客的“聚焦指令”。结果如下所示:

卡涅利安非蓄力的停顿减速效果处于中等水平,25%的覆盖率要低于麦哲伦的冰冻无人机,但远优于异客的聚焦指令。当然这份覆盖率会随着专精而大幅缩减,尤其是在专三时,攻击间隔进一步缩短的卡涅利安能将覆盖率提升到33.3%,已经非常优异了。
当卡涅利安完成二技能的蓄力后,她所能造成的“停顿”会演变成控制力更强的“束缚”,同时也提高了单次的持续时间。这里对比那些具有范围束缚能力的技能,包括:奥斯塔的“影钉”、早露的“雪崩击”、刻俄柏“很冰的斧”、格劳克斯的“反制电磁脉冲”、伊桑的“十字悬挂”:

非常有意思的是:卡涅利安所能带来的束缚能力,基本与奥斯塔的“影钉”一致。两者在触发间隔、触发几率、束缚覆盖率、技能周转率等等数据维度上都极其接近,唯二的巨大差异点在于:卡涅利安的单次束缚时间更短、频率更高,同时攻击的覆盖范围更广。卡涅利安那超广范围的束缚控制,显然足以让她跻身目前最优秀的控制系队列。
四、实战应用:在实战中,二技能的控制能力是亮点。尤其是在将技能专三后,0.9秒的攻击速度配合上单次0.6秒的束缚,能将覆盖率提升到67%,效果拔群。如果再为她配合上一些能增加攻速的干员进行辅助(比如安洁莉娜、阿、断崖等),完全能让广域范围内的所有敌人如陷泥沼、寸步难行:

就如同上图所示:范围型的束缚对于高危、高移速的敌人有着极强的控制作用。在这方面的控场工作我们完全可以让卡涅利安加入控制大队,配合伊桑、狮蝎、奥斯塔等人形成束缚控制链,从而实现有效控场。当然,拿去控制幽灵系的敌人也极为合适。
五、专精收益:卡涅利安的二技能“沙缚镣锁”在专一和专三时都有一次质变,其中专一增加了束缚的时间,专三进一步缩短了攻击的间隔。从七级到专三的DPS提升分别是:0%、4.3%、39.1%,专三的收益恐怖如斯。同时,二技能在专精中的控制力也会进一步加强,大大的提升束缚的覆盖率,综合建议练度:专一(起步)、专三(推荐)。

六、综合来看:卡涅利安的二技能“沙缚镣锁”兼顾了范围输出与控场,并且在两端的表现都非常优异。这是一个足以成为队伍基石的核心技能,是当前游戏中最强大的范围控制之一,非常值得我们将之专精。
食噬之印:范围法伤爆发

“食噬之印:攻击范围扩大,攻击力逐渐增至+200%/220%/240%/280%;蓄力额外效果:每次攻击使目标受到来自卡涅利安的伤害提升20%(最多叠加5次),持续至技能结束。”
一、技能机制:卡涅利安的三技能“食噬之印”,会赋予她更广的攻击范围和攻击力的持续提升,是一个纯输出向的技能。在具体范围上,将会与蜜蜡的“沙暴扩散”完全一致,覆盖全方位的21格范围:

在完成蓄力后,卡涅利安的每次攻击还会赋予敌人专属易伤效果,进一步提升自己的伤害。这份易伤会在敌人头顶出现“盘羊”的特殊标记,如下图所示:食噬之印技能演示这里要详细描述一下卡涅利安这一技能的伤害机制。当她开启技能后,自身的攻击力会在20秒内线性,每1秒更新一次,从+0%增加到最大值。

因此对于7级的技能而言,是每秒增加10%的倍率,最终达到200%;对于专三的卡涅利安而言,是每秒增加14%,最终达到280%。每一击的伤害都有着不小出入,这在独特易伤机制的进一步加成下,最终导致了专精带来的巨额伤害差异。
二、输出能力:“食噬之印”的范围更广,在实际作战中的输出环境也更有益。这里保持对比的技能不变,在三目标与六目标两种情况中的测算结果如下:


如果能够完成蓄力,卡涅利安的输出足以比肩艾雅法拉的“火山”和夕的“泼墨淋漓”,是目前最优秀的群攻输出向技能。在六目标的情况下,她11000+的秒伤已经完全足够与这两位掰一掰手腕了,如果目标数更多甚至还能够完成反超。但在伤害完全达到了决战级技能的水准的同时,其隐性的技能周期也不短。满蓄力的三技能需要46秒启动,全周期65秒,在这方面也几乎持平夕的62秒和艾雅法拉的80秒了。
我们再观察未完成蓄力的数据,发现其三目标2910、六目标5821的秒伤也领先了其他五六星术士干员许多。虽然仅有完成蓄力后输出的一半左右,但这份输出也够看了。因此我们概括而言:蓄力后的三技能“食噬之印”完全是法系决战技的水准,未完成蓄力时已经足以力压五星术士,完成蓄力后比肩火山和泼墨淋漓,这是一个极其优秀的法系AOE技能。
三、实战应用:在实战中,我们要做到的就是释放食噬之印的全部威力,但这也需要相应的辅助。这里推荐两套思路与她配合:第一是配上足够多的控制,让她自己打满输出。在这其中,塞雷娅的“钙质化”将会是她最好的伙伴:

第二种思路是进一步增强输出。因为三技能“食噬之印”最可怕的地方就在于:它拥有着极高的可塑性,如果被其他干员辅助,能够达到新的高度。比如像下图这样,凭借着自身坚硬的身板轻松吃下榴莲针,同时受益于艾雅法拉与莫斯提马双天赋的卡涅利安,恐怖如斯:

四、专精收益:“食噬之印”同样在专精中不增加技能的持续时间,但是攻击力的变化显著。从七级到专三的DPS提升分别是:5.2%、10.4%、20.8%。满练度下的食噬之印虽然在爆发能力上略逊火山一筹(-8.1%),但因为周转更快的关系,周期秒伤其实更高。建议练度:七级(可考虑)、专三(推荐)。

五、综合来看:卡涅利安的三技能“食噬之印”既可以当作是常规的短CD法伤清场技能去使用,也可以当作是一个长周期的法伤决战技,她在这两端都足以扛起输出的大旗。这是一个本身就极其强大的技能,还拥有着非常高的可塑性和潜能,在获得了其他干员的辅助后会更上一层楼,达到新的高度。
基建与综合评价
一、基建技能:卡涅利安的基建技能名为“尽在掌握”,是在训练室生效的:“进驻训练室协助位时,术士干员的专精技能训练速度+60%。”很简单粗暴的技能,类型属于:术士系干员的通用最高加成。

术士干员们终于拥有高加成的通用训练师了,60%的效率要略胜过50%的天火与蜜蜡一筹。但是考虑到专一和专二阶段的专精,分别被专项加成高达75%的特米米和薄绿所占据,卡涅利安能够有充足发挥空间的只有专三,在这一点上略微尴尬。
二、潜能提升:卡涅利安的潜能提升的核心是四潜和五潜,两者分别在攻防两端为她带来了新的提升。对于输出能力强大的卡涅利安而言,四潜时的34点攻击力对于她输出的进一步提升有着明显的帮助作用,化为DPS的变化是3.7%;五潜时强化了第一天赋带来的回复能力,能在常规开启技能时额外回复5%,蓄力时回复10%生命上限的血量,让强生存的卡涅利安更具战略意义。综合潜能建议:一潜能、四潜、五潜。

三、培养建议:术师干员卡涅利安,成熟冷静但偶尔也会想要大闹。对于萌新博士而言,卡涅利安是一位兼顾了范围输出、生存、回复乃至控场的全面型优秀干员。十项全能的她能在前中期完成抗压的同时,持续输出足量的输出和控制。唯一的问题就是在不开启技能时无法进行普攻,这需要博士们通过一定的熟练度进行弥补。推荐度:★★★☆;
对于常规队伍已经成型的博士而言,卡涅利安三技能真群攻的特性非常优秀,同时二技能也能形成足够的控场能力。她不仅本身的强度绝对过关,功能性也非常全面。推荐度:★★★★;
对于超高练度、众多术士干员已经精二专三的博士而言,卡涅利安在绝对输出端并没有形成不可替代性,上限还是不及火山。她的亮点侧重于真群攻和超强的生存能力,这或许会在高难关的恶劣环境中给她带来更好的输出环境,存在着很优异的潜力。推荐度:★★★★。



