米哈游最成功的「战争」
再往后,什么永动流青雀(装备追击星徽,每次行动可以自己提速10%,再反复消耗战技点从而无限行动)、一拳超人核弹杰帕德(被攻击次数越多,反击越多)、阳光彩虹大白马风堇(治疗+群攻,让奶妈打出海量伤害)……这些骚套路很快被一一开发了出来,并在社区里获得了大量的传播。我的回合!还是我的回合!就这样,在保留角色核心玩法的基础上,星铁一下子多出了一大堆配队流派,策略性也高了不止一个台阶。03聊到这里
游戏开箱成开设赌场,涉案超4亿 | 一周说法
文/诺诚游戏法 朱骏超 陈杰01央视报道:某盲盒涉嫌赌博被判刑近日,杭州市余杭区人民法院对一起盲盒App涉赌案作出一审判决,主犯王某、陈某等人因开设赌场罪被判处有期徒刑。近期,一款名为“赛博赏”的App在网络上兴起,其直播间内,主播热情洋溢地开启各种热门动漫、游戏角色的盲盒,宣称用户花费9.9元至199元不等,即有机会抽中市场价高达上千元的稀有手办。直播间内营造的“中奖”狂热氛围,吸引了
2025最后一批版号发布:腾讯「QQ农场」、乐元素《白银之城》,还有《代号:界》
文/严锦彦今天(12月25日),国家新闻出版署公布了12月国产网络游戏审批信息(144款)、新一批进口游戏审批信息(3款),以及审批变更信息(7款)。本次过审版号产品中,值得关注的有:腾讯《QQ经典农场》、乐元素《白银之城》、上海拾异《七界梦谭》、创梦天地《幻幻灵之战》、四三九九《勇者与幻兽》、电魂《出击吧!飞艇》、蓝飞《大鱼碰小鱼》等。其中,《七界梦谭》是此前收获过不少关注的国风仙诡MMO
造谣米哈游多人被罚;韩国拟重罚抽卡概率违规,最高10亿 | 一周说「法」
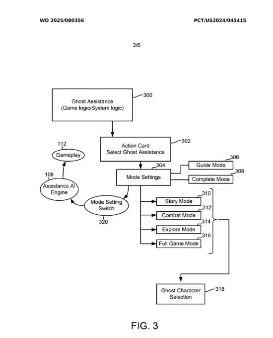
文/诺诚游戏法 朱骏超 陈杰 田梦琦01索尼“AI幽灵玩家”专利曝光:AI是否会重塑游戏辅助体验索尼互动娱乐(Sony Interactive Entertainment)近期因一项名为“AI生成幽灵玩家(AI-Generated Ghost Player)”的人工智能专利再次引发行业关注。该专利最初于2024年9月提交,随后世界知识产权组织(WIPO)发布了其国际现状报告。根据专利披露
12月出海榜:米哈游《绝区零》日流水新高;《无尽冬日》全球累收279亿
1月7日,Sensor Tower公布了12月中国手游出海收入及下载量排行榜,详细榜单变化如下。特别说明:本报告仅统计应⽤商店IAP预估值,不包括⼴告变现收⼊和中国地区第三方安卓渠道收入。0112月出海手游收入榜点点互动《Whiteout Survival》12月下旬推出圣诞主题活动,助力游戏蝉联出海手游收入榜冠军。最新数据显示,截至2025年12月,《Whiteout Survival》
博主解包泄密,腾讯胜诉;反派撞名被起诉,米哈游反诉商业诋毁 | 一周说法
01博主解包泄露未公开游戏内容,腾讯获赔2023年起,被告郑某某(网名“猫教官”)通过对游戏《和平精英》进行逆向工程,非法获取未公开的游戏皮肤设计及相关运营信息,并在抖音、快手、小红书、B站等多个平台发布,以博取流量、谋取利益,导致腾讯公司遭受重大经济损失,腾讯公司遂提起诉讼。法院经审理后采纳原告腾讯公司的主张,认定涉案未公开的游戏皮肤设计信息构成商业秘密;被告非法获取并披露该商业秘密的行
2026开年首个爆款,是个单人制作的页游?
我们征服不了任何一座山,只是山放过了我们而已。文/九莲宝灯&王丹这两天,突然有一款「页游」刷爆了葡萄君的朋友圈和各大群聊。这款游戏叫做《赛博徒步之生死鳌太线》(下称《生死鳌太线》)。这款游戏的链接最早于12月8日在小红书上发布,经过近一个月的迭代,最近它开始在微信等更多社交平台上广泛流传。从表面来看,《生死鳌太线》是个极简的文字游戏,玩家只要点选项就能推进剧情,花个两三分钟就可以
万字深度复盘:AI赛道真正的机会,可能被大厂集体忽视了
文/橙汁观前提示:原文标题:《AI泛娱乐:寻找那个只为你服务的“私人导演”》本文仅代表作者个人的观察和思考,与供职的机构/公司无关,纯分享用,欢迎后台私信交流,交个朋友、互帮互助。本文意在从用户×产品×AI的关系变量切入,分享对AI泛娱乐产品的思考框架,简评主流尝试的机遇与问题,并以酒馆Silly Tavern、赛博酒保、OC社区等优秀案例来聊聊其背后的用户需求和迭代空间。主要供梳理思路和
11月版号184款再创新高:西山居B站完美雷霆4399在列,和平精英新增客户端
文/依光流&梁乐天今天(11月26日),国家新闻出版署公布了11月国产网络游戏审批信息(178款)、审批变更信息(7款),以及新一批进口游戏审批信息(6款)。其中,移动端版号175个(移动-休闲益智69个),客户端版号11个、网页版号1个、游戏机版号1个。本次过审版号产品中,值得关注的国产游戏有:B站《闪耀吧!噜咪》、完美世界《梦幻新诛仙:轻享》、雷霆《再世仙途》、四三九九《造梦西游之
两年前差点被裁撤的大作,今天在沐瞳正式复活
IP规划将在多个领域展开探索。文/严锦彦今天,沉寂了近两年的《汐塔》终于放出了新的动画短片《云海逐鲸》。很多人可能都对《汐塔》还有一些印象。它最早由字节游戏的有爱事业部孵化,是一个内容型IP。2023年8月,《汐塔》首曝时放出的《云上邮差》动画短片曾吸引了不少人的注意。工作室成员告诉葡萄君,该短片当时在全网收获了近6000万播放,还在海外获得了不少导演、编剧的关注。左右滑动查看不少网友
空空如也
也许宝藏只是换了个藏身之处