首页
排行榜
发现
云游戏
PC 游戏
动态
发布
论坛
TapTap 制造
聚光灯 GameJam
开发者中心
创作者中心
下载手机 APP
扫码下载
Android APK 下载
版本:v
App Store 下载
版本:v
下载 PC 版
Windows 版下载
版本:v
下载 TapTap
TapTap 手机 APP
扫码下载手机App
Android APK 下载
版本:v
App Store 下载
版本:v
TapTap PC 版
Windows 客户端下载
版本:v
3DM游戏网
关注
3DM游戏网
关注
米哈游申请多个热血商标 疑似米哈游新项目
2023/03/08
4557 浏览
综合
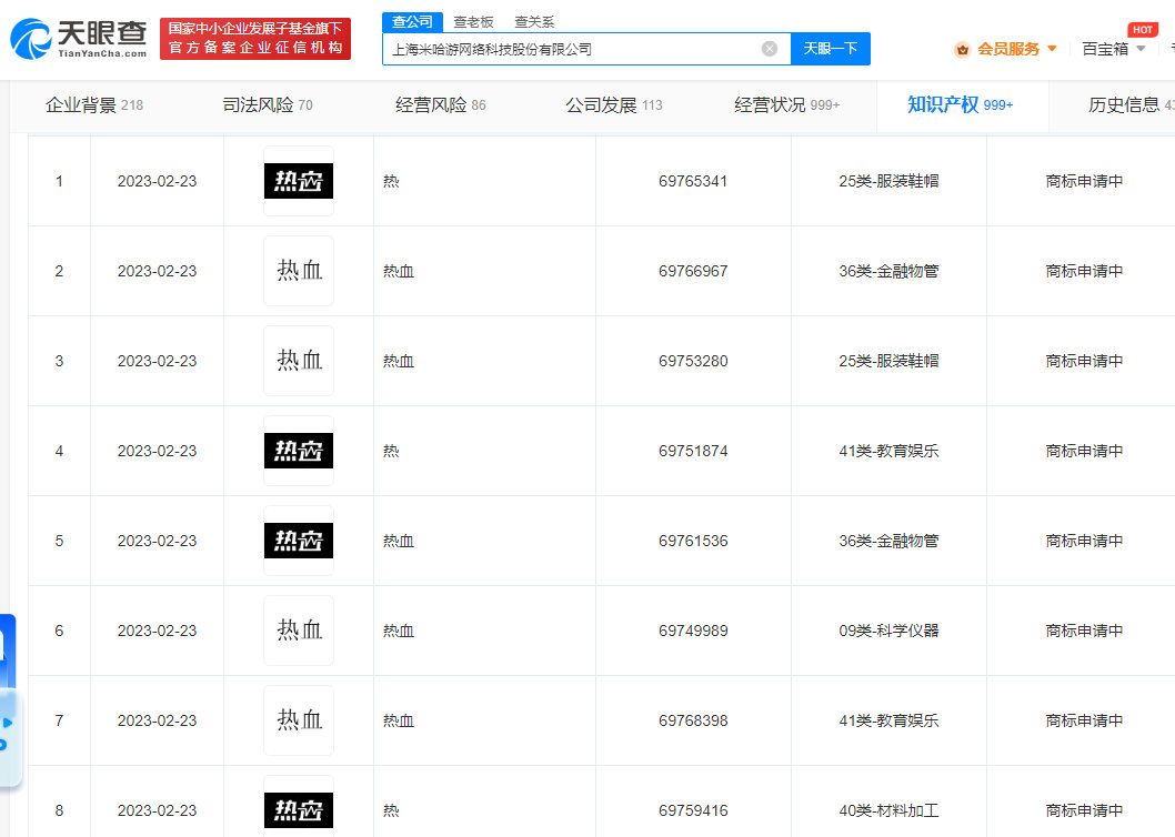
天眼查App显示,近日,上海米哈游网络科技股份有限公司申请注册多个“热血”“热”文字及图形新商标,国际分类涉及教育娱乐、服装鞋帽、金融物管等,当前商标状态均为申请中。本次申请商标或为米哈游新作做准备,新作或将于《崩坏:星穹铁道》正式上线之后公布。
目前,米哈游角色扮演游戏《崩坏:星穹铁道》正火热预约中,预计2023年4月26日上线,游戏舞台发生在银河深处,玩家将登上星穹列车,造访寓居宇宙的万象世界,携手形形色色的旅伴,解救“星核”引发的种种危机,对抗“星神”践踏文明的意图。
14
4
12