谷歌申请了一项用于游戏测试的AI技术专利
修改于2023/03/3174 浏览综合
译/风马
近日,谷歌公开了他们去年申请的一项新技术专利。这项专利名为“游戏玩法AI高效训练”(Efficient Gameplay Training For Artificial Intelligence),谷歌表示:这项技术可以帮助开发者使用AI来测试游戏,从而显著提高QA测试流程的速度和质量。
按照谷歌的说法,随着现代游戏的规模越来越大,玩法越来越复杂,开发商需要能够实现测试流程自动化的解决方案。谷歌认为,QA团队不再能“适应现代游戏的复杂性,而这常常导致“产品质量低下,或者延期发布”。因此,谷歌开发了一套玩法训练系统。借助该系统,开发者既可以教游戏角色如何获胜,又可以教角色基于游戏内数据或特定目标,做出各种复杂决定。
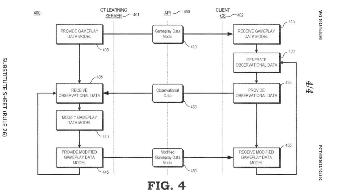
对于这项技术的具体使用范畴和效果,谷歌表示:玩法训练系统有能力找出游戏中玩家可能会在哪些地方卡关。另外,其数据模型还可以判断特定玩法区域的敌人是否过于强大/过于简单。

“某些用例中,玩法训练可能会强调为游戏应用快速开发多种玩法数据模型,每种模型都与游戏世界里的一个或多个独特目标相关联。”谷歌在专利描述中写道。
换句话说,这套系统使游戏角色可以根据某个经过训练的玩法模型,执行各种不同的操作。开发者可以对该模型进行进一步调整,或者让它通过观察人类玩家的操作来改进自己。
与许多其他专利类似,目前还不清楚谷歌是否会在实践中使用这项技术,或者将技术授权给其他公司,让他们将其加入游戏的开发管线。
消息来源:
游戏葡萄编译整理
游戏葡萄招聘内容编辑,
点击「阅读原文」可了解详情


