蔡浩宇卸任董事长,米哈游回应:将专注研发
修改于2023/09/192 万浏览综合

准备许久的高层调整。
文/灰信鸽
01
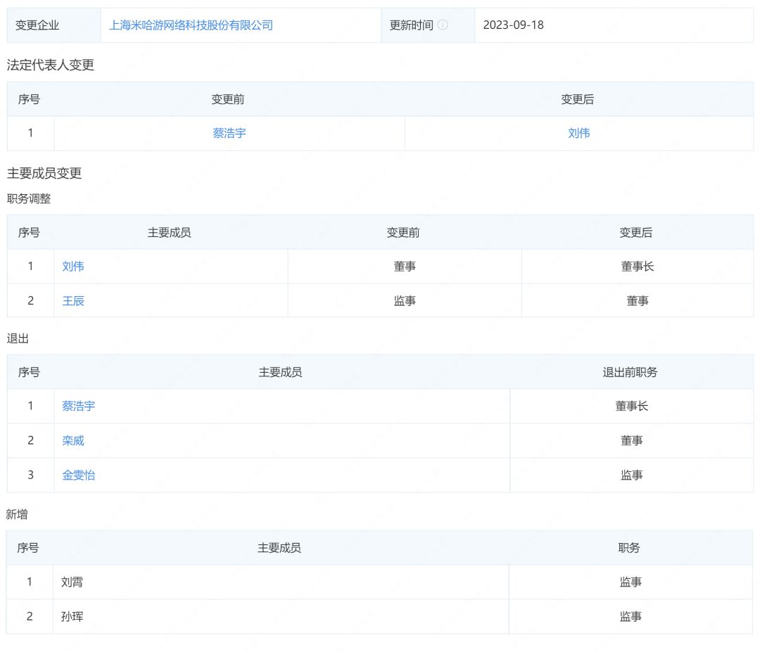
根据企查查信息,米哈游于9月15日调整了其法定代表人及董事备案名单:
蔡浩宇不再担任米哈游法定代表人与董事长,这两个职位均由刘伟来接替。董事备案由7人调整为5人。蔡浩宇、栾威退出,名单新增王辰。现名单为王辰、于晨曦、蒋大卫、刘伟、罗宇皓;
监事备案也做了调整。金雯怡、王辰退出,名单新增刘霄、孙珲。现名单为刘霄、孙珲、张庆华。

就此事,米哈游给出官方回应:
为了适应公司未来发展需要,米哈游创始人蔡浩宇将投入更多的精力在前沿科技的研究与应用、新项目研发,以及串联国内与海外研发资源上,公司管理事务继续由米哈游创始人、总裁刘伟负责。
米哈游将持续围绕文创+科创双轮驱动,为用户提供创新的、美好的、超出预期的产品与内容。
02
许多游戏公司老板曾告诉游戏葡萄,他们很羡慕米哈游的高层体系。
罗宇皓的公开信息很少,他几乎拒绝在台前露面,更多是在幕后负责各项目的稳定开发与运营。一位在大学期间与其相识的人士提到,罗宇皓数学特别好,相关科目和算法的成绩全是A+,他也支撑着米哈游在数值、商业化方面的竞争力。
与之相反,刘伟一直站在台前,既做外部对接,也做内部管理。自2011年米哈游开始频繁参加创业活动、与行业内人士交流起,刘伟就从几位不善交际的宅男中站出来,成为米哈游对外交流的唯一角色。
在许多人看来,刘伟以交际广泛、人缘好、会聊天著称。和刘伟相熟的老板对他的评价为:情商高、社交牛逼症、很懂人情世故,会让人不自觉地喜欢他。有内部员工提到,有时在外面的餐厅偶遇刘伟并打招呼,他甚至会悄悄把饭菜钱付了。
在玩家方面,刘伟也有着相当高的人气。在今年举办的嘉年华上,刘伟作为神秘嘉宾登场,第一次与上千名玩家在线下见面,说到过往,他在台上一边流泪,一边向玩家90度鞠躬。
但光靠和蔼是没法管理公司的。据相关人士指出,刘伟也有着杀伐果断的一面——过往米哈游砍掉部分项目的决定,就来自刘伟的指示。他紧盯着公司的红线,避免任何失控情况。
而蔡浩宇,则更多扮演着米哈游开拓者的角色——他也是国内诸多游戏公司中,少数一直在一线做开发工作的老板。
蔡浩宇为人熟知的一面是技术男。在《崩坏3》《原神》成功后,蔡浩宇前往GDC演讲,强调他们在技术的突破。但也有业内人士分析,技术不过是烟雾弹,蔡浩宇对内容的把握能力,才是过往米哈游制胜的关键。
过往,蔡浩宇主导开发了米哈游数个重点项目,涵盖了如早期的《FLY ME 2 THE MOON》《崩坏学园》、带来商业成功的《崩坏学园2》、带来技术变革的《崩坏3》,以及改变了中国游戏行业局面的《原神》。
根据相关信息,蔡浩宇在每一个研发阶段,都瞄准着超出当下世代规格的产品,希望能借助一次次大跨步式的前进,构建出一个比现实更加「真实」的虚拟世界。
为了实现这一点,每当重点项目成功上线后,蔡浩宇就会寻觅一个符合预期的负责人,让后者接管制作人工作,负责长线运营,而蔡浩宇则聚拢公司的精英团队,迅速开始做下一个重点产品。这一做法也一度被视为豪赌。
在现实的一面,蔡浩宇也是为了公司能活下去,所以采取了领先市场多步的大战略。在Handbook中,蔡浩宇也特别提到商业成功的必要性——一个能超越市场认知的项目,才能抢占用户市场,保住公司生命力。
2021年,蔡浩宇在上海交大的校友交流会上提到,尽管《原神》大获成功,但蔡浩宇不想将公司的上限局限在单个产品上,他希望找到一个能支撑公司前往更高目标的第二增长曲线。
如今不可忽视的是,随着数次成功,以及公司当初未能上市的缘故,蔡浩宇也成了一个在全球范围内都相当特殊的游戏制作人:他一人,就能调度整个公司千亿级的力量,去超规格地布局一个战略。
也因此,如何让蔡浩宇集中精力,调度资源完成下一个重大突破,就成为米哈游现在的重点任务。
03
在游戏葡萄看来,本次调整其实也能在米哈游此前传出的高层分工调整中获得佐证。
那次会议指出了高层近期的工作变化:蔡浩宇将调动北美更多的资源,并投入更多精力去研究AI;罗宇皓将常驻上海,继续负责更多项目的开发。在GPT 4.0推出后,蔡浩宇更加关注AI。据悉,米哈游部分在研项目已开始应用。
这一变化意味着,米哈游要帮助蔡浩宇将更多精力从管理收回,集中在研发层,投入到更重要的开拓工作上,去突破公司上限。本次米哈游法人代表、董事会的变动,也从官方层面印证了米哈游高层的变化。
此外,米哈游此次高层调整,或也与其公司今年的全球化战略有关。
在《原神》之后,米哈游在全球市场获得成功。某大厂高层曾向葡萄君透露,《原神》上线的头两年,其海外用户数据逐步占到了大头。但据从业者分析,近两年,《原神》的爆发主要来自国内,它在海外的增势开始放缓。
在游戏葡萄看来,米哈游对此颇为重视,并判断公司对全球的了解还有所欠缺,为了米哈游后续的发展目标,开始将更多视野放在全球市场。
2022年2月13日,米哈游发布了全新品牌「HoYoverse」。该品牌使命为:面向全球市场,「打造一个由内容驱动的宏大虚拟世界」。新品牌工作室覆盖全球,当中包括蒙特利尔、洛杉矶、新加坡、东京和首尔,五地工作室。
而新品牌「HoYoverse」的创始人兼CEO,就是蔡浩宇。
今年,米哈游已确定瞄准全球市场。部分从业者提到,除在蒙特利尔、新加坡等地吸纳人才外,米哈游还在推动国内员工做跨国研发,以及短中期的出海办公。一些员工过去收到了可前往新加坡做短期岗的可选项。
在过往数个产品中,米哈游持续推出高品质产品的能力已经得到验证。未来,如何调度全球资源、先进技术,去研发更多新项目,完成下一次突破,也将是这次高层调整所希望解决的核心课题。

游戏葡萄招聘内容编辑,
点击「阅读原文」可了解详情


