C口真的一统天下了吗?带你感悟一下不一样的TypeC接口
2025/09/2126 浏览综合
记得在2010年那会,市面上各种数据线可谓是神仙打架,什么typeA、TypeB、microA、microB等等等等,也算得上是百花齐放的盛世了,不过这倒苦了用户,由于不同的品牌所适配的数据线不同,用户们基本上在每次更换设备时都需要买一根新的数据线。这种闹剧也终于在2014年被全新推出的TypeC接口正式打破,自此,TypeC接口成功一统天下,成为了国际通用接口的代名词。

那么问题来了,TypeC接口真的一统天下了吗?TypeC为什么能从诸多接口中杀出重围?为什么市面上会有这么多价格以及性能各不相同的TypeC接口呢?其差异的原因到底是什么?下面笔者将为大家一一解答。

1、为什么TypeC接口能够杀出重围,成为一统天下的霸主?要了解这个问题,我们还需要把时间回溯到2014年。在此之前,数据线还是microB所统治的时代,彼时的microB犹如一方霸主,凭借小巧的外观以及5根接头引脚的宽泛性和实用性,迅速占据整个市场,正当所有人以为microB将成为数据线的代名词,Type-C接口挺身而出,当时TypeC接口的宣传可谓是相当恐怖,正反都能插,并且高速数据传输、大功率充电、视频音频输出及多功能扩展于一身,这在当时听了谁不迷糊,好家伙,这技术提升可不是一点半点,简直是跨时代级别的。

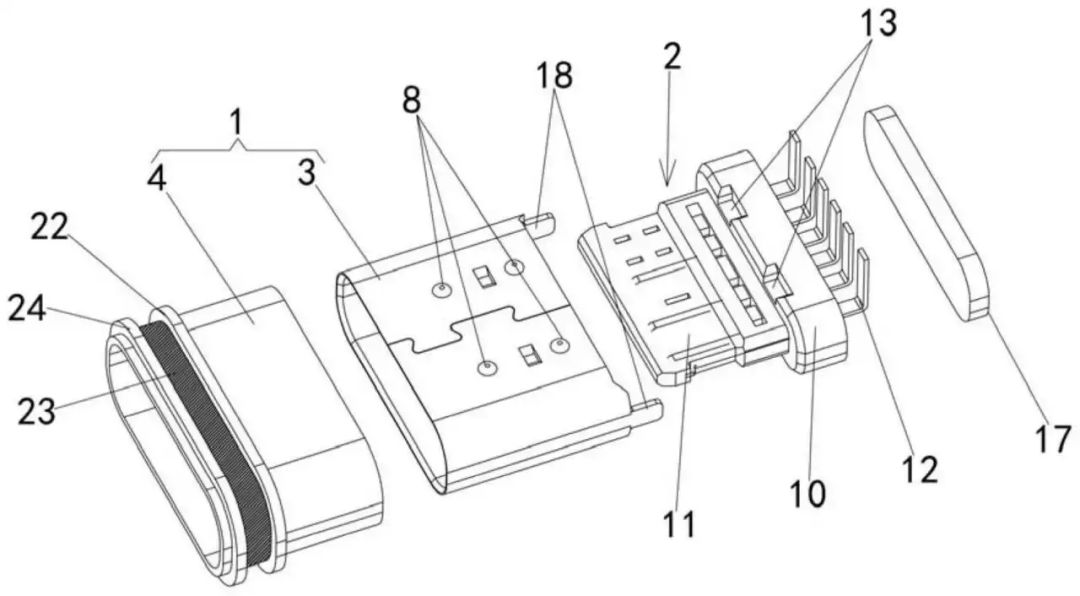
而TypeC接口之所以有如此高的性能,主要还是归功于它的24个接头引脚,你没有听错,microB有5个接头引脚,TypeC足足有24个接头引脚,它们分别是4对TX/RX分线,2对USBD+/D-,1对SBU,2个CC,另外还有4个VBUS和4个地线。

这里笔者简单科普一下引脚的作用:数据线内部通常含有多个引脚,这些针脚扮演着连接器和设备之间的桥梁角色,它们负责传输电信号、地线和控制信号等重要信息。针脚的定义包括信号引脚、电源引脚、地线引脚等,每个引脚都承担着特定的功能和责任,只有在各个引脚协同作用的情况下,数据线才能正常工作并实现设备之间的稳定连接。

该说不说,就这些优势,放在当时,真就是降维打击了。2、为什么不同TypeC接口的数据线各方面性能都不一样?经常用数据线的朋友应该会发现这样一个问题,不同的数据线不管是充电还是数据传输都有很大差异,有些数据线甚至越充电量越少,这其实是受多方面因素导致的。除了我们熟知的数据线的材质和结构之外,还有很大一部分原因就是我们前面提到的引脚,这里面涉及许多知识点,笔者尽量用最简单的话说明白。

虽然TypeC接口包含24个引脚,但大多数type c接口都不会全部应用到,比如我们熟知的A to C数据线,其内部其实仅仅只有四根线芯,分别连接到了TypeC内部的10根引脚,当然,A to C线还有海量不同版本,比如蓝色A口是USB3.0,白色或黑色A口通常是USB2.0,这点涉及的知识层面有点广,笔者先不做过多介绍,我们就拿最常用的电脑连接外设的A to C线举例。这种数据线一般使用的是USB2.0,因此只具备最基础的数据传输和充电能力,如果你拿这种数据线来充手机或者笔记本的话,手机说不定还会给你弹一个充电弹窗,笔记本那绝对鸟都不鸟你,那是因为其功率太低,根本达不到他的最低握手协议。3、好学的小伙伴又问了,什么是握手协议?握手协议,简单来说就是充电协议,包括我们所熟知的各种品牌的快充协议都属于握手协议,握手协议还分为两大种,一种是通用协议,一种是私有协议。通用协议包括苹果的PD协议、高通的QC协议、联发科的PE协议,私有协议则比如华为的SCP协议、OPPO的VOOC闪充。

当然,握手协议听上去很复杂,原理其实很简单,设备插入充电器后,双方通过D+/D-线或CC线交换协议版本、最大电流等参数,建立通信连接(如USB PD协议使用24MHz FSK信号叠加在VBUS直流电平上)。成功握手后,充电器根据设备需求切换输出模式(如QC协议支持3.6-20V动态调压,每200mV为一档)。简单来说,就是你这跟数据线如果无法回应设备,或者是功率未达到设备所需的最低功率,那么这个设备就不会响应。不同的协议所取对应的引脚也不相同,这里笔者举三个简单的例子:QC协议:通过D+/D-线传输调压指令。PD协议:使用CC线传输BMC编码信号。VOOC协议:定制7针接口实现直连通信。因此,同时支持的协议越多,并且引脚越多,亦或是PSS快充协议功率越高,那么这款数据线的性能就越优越。

我们所熟知的酷态科之所以充电性能优越,很大一部分原因就支持的pps功率更高,这也让他们家的充电宝普遍就可以支持多家快充,比如小米、华为、vivo、OPPO、三星等等。

4、快充协议与数据传输的区别目前市面上的数据线总共可以分为两大类,一种是支持快充协议,以充电为主的快充线,一种则是以数据传输为主的数据线。当然,并不是说快充线不支持数据传输,而是主要以快充为主,同样拿酷态科6号数显电能线举例(因为笔者翻了半天也就这一根能拿得出手),这款数据线支持240W超大功率快充,并且最高支持6A电流,基本上小米手机都能稳定达到120W快充,但是这款数据线也同样支持数据传输,虽然USB2.0放到现在可能有点平台,但1G文件同样仅需25s就可以传输完成,对于日常的数据传输而言毫无压力。

为了让大家能够更清楚USB2.0与USB3.0的区别,笔者这里把数据列出来:USB2.0的最大传输带宽为480Mbps(即60MB/s),而USB3.0的最大传输带宽高达5.0Gbps(500MB/s),不难看出,USB3.0与USB2.0在数据传输上差异巨大,但直到现在,USB2.0也同样能打。

USB2.0引脚示意图

USB3.0引脚示意图5、TypeC接口真的一统天下了吗?让我们回归最初的问题,TypeC接口真的一统天下了吗?你说他没统一吧,现在所有的数据线基本上都采用了相同的接口介面;你说他统一了吧,不同TypeC数据线还不能通用。那它到底统一了吗?如统。那它到底有没有统一?如统。那它什么时候能够真正统一?这也得看后面各个手机厂商是否会忍痛割爱抛弃自己的什么闪充以及融合快充协议,希望马统吧。#浅评一下


